Pièces détachées de chauffage et climatisation
Plus de 650 000 références fabricants disponibles
Livraison en France et en Belgique
4.7
MARQUES ▾
CATALOGUES ▾
VUES ÉCLATÉES ▾ CODES DÉFAUTS ▾
OUTILS DE RECHERCHE ▾
FAQ / TUTOS
DÉSTOCKAGE
>
VOTRE RECHERCHE

Chaudière Viessmann VITOCROSSAL CU3 49-44KW (7170769) 7170769



page 3
page 4
page 5
page 6
Pièces détachées Chaudière Viessmann VITOCROSSAL CU3 49-44KW (7170769) 7170769 chez Pièces Express


Référence fabricant
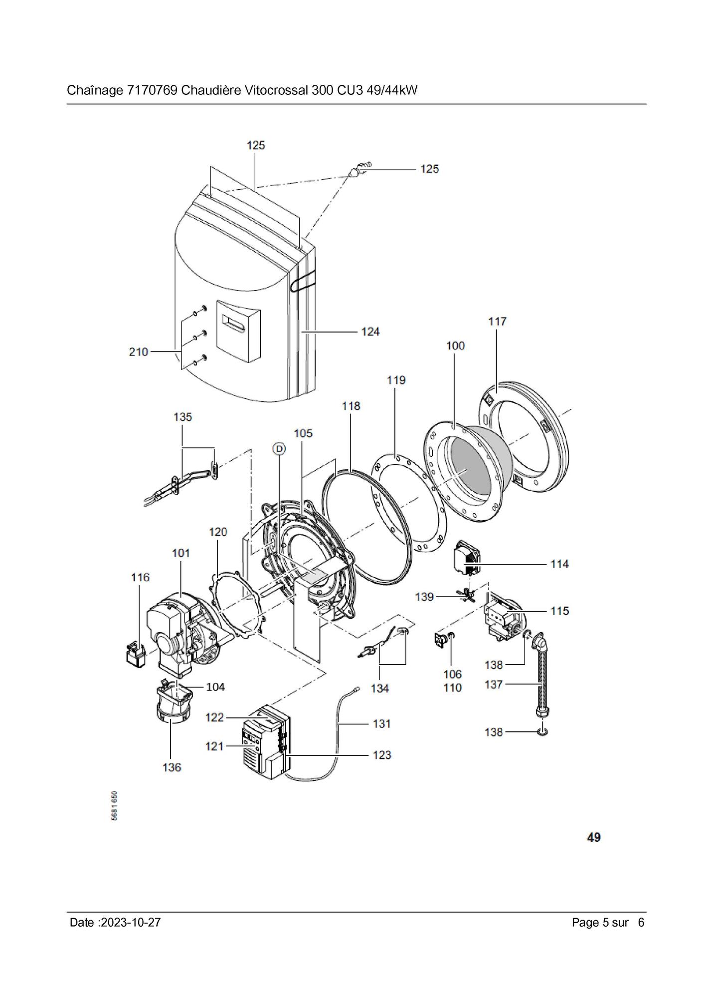
PositionSchéma
7824826Boite de fumees cu3 44 - 60 kw1
7822134Joint boite de fumee cu3 44-60kw2
7819544Pied reglable m12x35 95170603
7824743Beipack syphon anti-odeur4
7822136Manchette de raccordement cu3 44-60kw5
7820791Tuyau flexible dn 80 l=690 vitorond 2226
7820792Fixation as 70-90 vitorond 2227
7826553Joint sortie de fumee d=1108
7818559Joint a levres9
7818913Fiche de codage cb67
7817697Grille de bruleur gaz nat100
7831031Entree d air 44kw vitocrossal cu3101
7823951Clapet d admis.d air avec cadre 44/66kw104
7822095Porte de bruleur avec joint105
7827553Diaphragme gaz nat 44kw106
7827554Kit de transformation eg-ll 44kw110
7822096Pressostat air dl2e - 1114
7827524Bloc combine gaz nat cgs71 d 230v115
7822555Allumeur zag 2xv 01/10 230v 60hz116
7828339Anneau refractaire vitocrosal 300117
7857725Joint de bruleur118
7817698Grand joint de grille bruleur119
7828463Joint turbine gaz cu3120
7820058Module d affichage et de commande mpa51121
7820059Entree de cables mpa51122
7825247Boitier de controle mpa51 s03 v2.00 e123
7817962Capot bruleur vm124
7822099Pochette pieces de montage125
7822100Conduites de raccordement 35 bloc gaz126
7822101Cables de raccordement 54 allumeur127
7822102Cable de raccord.131 pressostat air128
7822103Cables de raccord.100 moteur de turbine129
7822104Cables de commande 100a moteur de turb.130
7822105Cable de mesure du courant d ionisation131
7822106Pont enfichable pressostat gaz 111132
7822107Pont enfichable 47133
7818364Electrode d'ionisation134
7818363Electrodes allumage135
7822108Adaptateur d aspiration136
7818368Flexible d alimentation gaz137
7826149Jeu de petits accessoires bruleur wb2138
7827560Adaptateur ldw dl2e-1 avec joints139
7822060Tole superieure cu3 44/60kw200
7822062Tole laterale droite et gauche cu3 44+60201
7822063Tole avant cu3202
7822064Tole arriere cu3203
7822066Jaquette d isolation cu3204
7822067Jaquette d isolation avant cu3205
7822068Jaquette d isolation arriere cu3206
7822069Tole inferieure cu3207
7820023Logo vitocrossal 300208
7819438Protection209
7819534Bouchon orange210
7822070Colis pour isolation cu3211
7822288Console vitotronic212
7822289Blende213
7842162Raccord filete rp3/4 - m26 x 1,5214
7819535Bande vitorange (1 rouleau = 10 m)300
7819545Spray argent301
7819546Crayon pour retouches, vitoargent302
5851414Mont.anl. vitocrossal 300 cu3303
5681650Serv.anl. vitocrossal 300 cu3304
5781953Et-bildl. vitocrossal cu3305
ZK00393Boitier controle mpa5113-v1.1 cu3 44 kw1000
7831294Boitier de contr.gaz mpa5113-v1.11001
7828881Module de contole mpa51131002
7828882Entree de cables mpa511003
7838508Carte memoire de parametrage cu3 44kw1004


Les images des vues éclatées peuvent contenir des prix datant de plusieurs années, merci de ne pas en tenir compte










Pièces détachées contenues dans cet appareil Chaudière Viessmann VITOCROSSAL CU3 49-44KW (7170769) 7170769



PhotoPosition vue éclatéeArticleRéférence fabricantDisponibilité et prix 
Boite de fumees cu3 44 - 60 kw Viessmann 7824826
Boite de fumees cu3 44 - 60 kw
Code article PEX: 249983
Viessmann
Réf fabricant: 7824826
± 3 jours ouvrés
435,60 € TTC
Joint boite de fumee cu3 44-60kw Viessmann 7822134
Joint boite de fumee cu3 44-60kw
Code article PEX: 248446
Viessmann
Réf fabricant: 7822134
± 3 jours ouvrés
58,80 € TTC
Pied reglable m12x35 9517060 Viessmann 7819544
Pied reglable m12x35 9517060
Code article PEX: 247501
Viessmann
Réf fabricant: 7819544
± 3 jours ouvrés
9,84 € TTC
Beipack syphon anti-odeur Viessmann 7824743
Beipack syphon anti-odeur
Code article PEX: 249934
Viessmann
Réf fabricant: 7824743
± 3 jours ouvrés
38,40 € TTC
Manchette de raccordement cu3 44-60kw Viessmann 7822136
Manchette de raccordement cu3 44-60kw
Code article PEX: 248448
Viessmann
Réf fabricant: 7822136
± 3 jours ouvrés
204,00 € TTC
Tuyau flexible dn 80 l=690 vitorond 222 Viessmann 7820791
Tuyau flexible dn 80 l=690 vitorond 222
Code article PEX: 248251
Viessmann
Réf fabricant: 7820791
± 3 jours ouvrés
85,20 € TTC
Fixation as 70-90 vitorond 222 Viessmann 7820792
Fixation as 70-90 vitorond 222
Code article PEX: 248252
Viessmann
Réf fabricant: 7820792
± 3 jours ouvrés
18,36 € TTC
Joint sortie de fumee d=110 Viessmann 7826553
Joint sortie de fumee d=110
Code article PEX: 716817
Viessmann
Réf fabricant: 7826553
± 3 jours ouvrés
26,40 € TTC
Joint a levres Viessmann 7818559
Joint a levres
Code article PEX: 246949
Viessmann
Réf fabricant: 7818559
± 3 jours ouvrés
30,00 € TTC
Fiche de codage CB Viessmann 7818913
Fiche de codage cb
Code article PEX: 247115
Viessmann
Réf fabricant: 7818913
± 3 jours ouvrés
28,80 € TTC
Grille de bruleur gaz nat Viessmann 7817697
Grille de bruleur gaz nat
Code article PEX: 246494
Viessmann
Réf fabricant: 7817697
± 3 jours ouvrés
766,80 € TTC
Entree d air 44kw vitocrossal cu3 Viessmann 7831031
Entree d air 44kw vitocrossal cu3
Code article PEX: 252308
Viessmann
Réf fabricant: 7831031
± 3 jours ouvrés
1 059,60 € TTC
Clapet d admis.d air avec cadre 44/66kw Viessmann 7823951
Clapet d admis.d air avec cadre 44/66kw
Code article PEX: 249621
Viessmann
Réf fabricant: 7823951
 
obsolète
 
Porte de bruleur avec joint Viessmann 7822095
Porte de bruleur avec joint
Code article PEX: 248417
Viessmann
Réf fabricant: 7822095
± 3 jours ouvrés
296,40 € TTC
Diaphragme gaz nat 44kw Viessmann 7827553
Diaphragme gaz nat 44kw
Code article PEX: 251216
Viessmann
Réf fabricant: 7827553
± 3 jours ouvrés
38,40 € TTC
Kit de transformation eg-ll 44kw Viessmann 7827554
Kit de transformation eg-ll 44kw
Code article PEX: 475956
Viessmann
Réf fabricant: 7827554
± 3 jours ouvrés
46,80 € TTC
Pressostat air dl2e - 1 Viessmann 7822096
Pressostat air dl2e - 1
Code article PEX: 248418
Viessmann
Réf fabricant: 7822096
en stock
120,00 € TTC
Bloc combine gaz nat cgs71 d 230v Viessmann 7827524
Bloc combine gaz nat cgs71 d 230v
Code article PEX: 251199
Viessmann
Réf fabricant: 7827524
± 3 jours ouvrés
571,20 € TTC
Allumeur zag 2xv 01/10 230v 60hz Viessmann 7822555
Allumeur zag 2xv 01/10 230v 60hz
Code article PEX: 248701
Viessmann
Réf fabricant: 7822555
en stock
57,60 € TTC
Anneau refractaire vitocrosal 300 Viessmann 7828339
Anneau refractaire vitocrosal 300
Code article PEX: 251525
Viessmann
Réf fabricant: 7828339
en stock
96,00 € TTC
Joint de bruleur Viessmann 7857725
Joint de bruleur
Code article PEX: 666932
Viessmann
Réf fabricant: 7857725
en stock
72,00 € TTC
Grand joint de grille bruleur Viessmann 7817698
Grand joint de grille bruleur
Code article PEX: 246495
Viessmann
Réf fabricant: 7817698
± 3 jours ouvrés
54,00 € TTC
Joint turbine gaz cu3 Viessmann 7828463
Joint turbine gaz cu3
Code article PEX: 251554
Viessmann
Réf fabricant: 7828463
± 3 jours ouvrés
66,00 € TTC
Module d affichage et de commande mpa51 Viessmann 7820058
Module d affichage et de commande mpa51
Code article PEX: 247861
Viessmann
Réf fabricant: 7820058
± 3 jours ouvrés
351,60 € TTC
Entree de cables mpa51 Viessmann 7820059
Entree de cables mpa51
Code article PEX: 247862
Viessmann
Réf fabricant: 7820059
± 3 jours ouvrés
18,00 € TTC
Boitier de controle mpa51 s03 v2.00 e Viessmann 7825247
Boitier de controle mpa51 s03 v2.00 e
Code article PEX: 250172
Viessmann
Réf fabricant: 7825247
 
obsolète
 
Capot bruleur vm Viessmann 7817962
Capot bruleur vm
Code article PEX: 246632
Viessmann
Réf fabricant: 7817962
± 3 jours ouvrés
480,00 € TTC
Pochette pieces de montage Viessmann 7822099
Pochette pieces de montage
Code article PEX: 248420
Viessmann
Réf fabricant: 7822099
± 3 jours ouvrés
30,00 € TTC
Conduites de raccordement 35 bloc gaz Viessmann 7822100
Conduites de raccordement 35 bloc gaz
Code article PEX: 248421
Viessmann
Réf fabricant: 7822100
± 3 jours ouvrés
39,60 € TTC
Cables de raccordement 54 allumeur Viessmann 7822101
Cables de raccordement 54 allumeur
Code article PEX: 248422
Viessmann
Réf fabricant: 7822101
± 3 jours ouvrés
18,36 € TTC
Cable de raccord.131 pressostat air Viessmann 7822102
Cable de raccord.131 pressostat air
Code article PEX: 248423
Viessmann
Réf fabricant: 7822102
± 3 jours ouvrés
25,20 € TTC
Cables de raccord.100 moteur de turbine Viessmann 7822103
Cables de raccord.100 moteur de turbine
Code article PEX: 248424
Viessmann
Réf fabricant: 7822103
± 3 jours ouvrés
28,80 € TTC
Cables de commande 100a moteur de turb. Viessmann 7822104
Cables de commande 100a moteur de turb.
Code article PEX: 248425
Viessmann
Réf fabricant: 7822104
± 3 jours ouvrés
18,36 € TTC
Cable de mesure du courant d ionisation Viessmann 7822105
Cable de mesure du courant d ionisation
Code article PEX: 248426
Viessmann
Réf fabricant: 7822105
± 3 jours ouvrés
61,20 € TTC
Pont enfichable pressostat gaz 111 Viessmann 7822106
Pont enfichable pressostat gaz 111
Code article PEX: 248427
Viessmann
Réf fabricant: 7822106
± 3 jours ouvrés
14,40 € TTC
Pont enfichable 47 Viessmann 7822107
Pont enfichable 47
Code article PEX: 248428
Viessmann
Réf fabricant: 7822107
± 3 jours ouvrés
13,80 € TTC
Electrode d'ionisation Viessmann 7818364
Electrode d'ionisation
Code article PEX: 246866
Viessmann
Réf fabricant: 7818364
en stock
54,00 € TTC
Electrodes allumage Viessmann 7818363
Electrodes allumage
Code article PEX: 246865
Viessmann
Réf fabricant: 7818363
en stock
74,40 € TTC
Adaptateur d aspiration Viessmann 7822108
Adaptateur d aspiration
Code article PEX: 248429
Viessmann
Réf fabricant: 7822108
± 3 jours ouvrés
57,60 € TTC
Flexible d alimentation gaz Viessmann 7818368
Flexible d alimentation gaz
Code article PEX: 246869
Viessmann
Réf fabricant: 7818368
± 3 jours ouvrés
178,80 € TTC
Jeu de petits accessoires bruleur wb2 Viessmann 7826149
Jeu de petits accessoires bruleur wb2
Code article PEX: 250531
Viessmann
Réf fabricant: 7826149
± 3 jours ouvrés
66,00 € TTC
Adaptateur ldw dl2e-1 avec joints Viessmann 7827560
Adaptateur ldw dl2e-1 avec joints
Code article PEX: 251219
Viessmann
Réf fabricant: 7827560
± 3 jours ouvrés
52,80 € TTC
Tole superieure cu3 44/60kw Viessmann 7822060
Tole superieure cu3 44/60kw
Code article PEX: 248397
Viessmann
Réf fabricant: 7822060
± 3 jours ouvrés
204,00 € TTC
Tole laterale droite et gauche cu3 44+60 Viessmann 7822062
Tole laterale droite et gauche cu3 44+60
Code article PEX: 248399
Viessmann
Réf fabricant: 7822062
± 3 jours ouvrés
230,40 € TTC
Tole avant cu3 Viessmann 7822063
Tole avant cu3
Code article PEX: 248400
Viessmann
Réf fabricant: 7822063
 
obsolète
 
Tole arriere cu3 Viessmann 7822064
Tole arriere cu3
Code article PEX: 248401
Viessmann
Réf fabricant: 7822064
 
obsolète
 
Jaquette d isolation cu3 Viessmann 7822066
Jaquette d isolation cu3
Code article PEX: 248403
Viessmann
Réf fabricant: 7822066
± 3 jours ouvrés
142,80 € TTC
Jaquette d isolation avant cu3 Viessmann 7822067
Jaquette d isolation avant cu3
Code article PEX: 248404
Viessmann
Réf fabricant: 7822067
± 3 jours ouvrés
127,20 € TTC
Jaquette d isolation arriere cu3 Viessmann 7822068
Jaquette d isolation arriere cu3
Code article PEX: 248405
Viessmann
Réf fabricant: 7822068
± 3 jours ouvrés
127,20 € TTC
Tole inferieure cu3 Viessmann 7822069
Tole inferieure cu3
Code article PEX: 248406
Viessmann
Réf fabricant: 7822069
± 3 jours ouvrés
142,80 € TTC
Logo vitocrossal 300 Viessmann 7820023
Logo vitocrossal 300
Code article PEX: 247836
Viessmann
Réf fabricant: 7820023
± 3 jours ouvrés
34,80 € TTC
Protection Viessmann 7819438
Protection
Code article PEX: 247450
Viessmann
Réf fabricant: 7819438
± 3 jours ouvrés
33,60 € TTC
Bouchon orange Viessmann 7819534
Bouchon orange
Code article PEX: 247494
Viessmann
Réf fabricant: 7819534
± 3 jours ouvrés
9,84 € TTC
Colis pour isolation cu3 Viessmann 7822070
Colis pour isolation cu3
Code article PEX: 248407
Viessmann
Réf fabricant: 7822070
± 3 jours ouvrés
244,80 € TTC
Socle adaptation vitotronic gc1,gw1,gw2 Viessmann 7822288
Socle adaptation vitotronic gc1,gw1,gw2
Code article PEX: 475211
Viessmann
Réf fabricant: 7822288
± 3 jours ouvrés
260,40 € TTC
213 page 6Blende
 
Viessmann
Réf fabricant: 7822289
avec délai
sur devis
Raccord filete rp3/4 - m26 x 1,5 Viessmann 7842162
Raccord filete rp3/4 - m26 x 1,5
Code article PEX: 315481
Viessmann
Réf fabricant: 7842162
± 3 jours ouvrés
33,60 € TTC
Bande vitorange (1 rouleau = 10 m) Viessmann 7819535
Bande vitorange (1 rouleau = 10 m)
Code article PEX: 247495
Viessmann
Réf fabricant: 7819535
± 3 jours ouvrés
18,00 € TTC
Spray argent Viessmann 7819545
Spray argent
Code article PEX: 247502
Viessmann
Réf fabricant: 7819545
± 3 jours ouvrés
44,40 € TTC
Crayon pour retouches, vitoargent Viessmann 7819546
Crayon pour retouches, vitoargent
Code article PEX: 297920
Viessmann
Réf fabricant: 7819546
± 3 jours ouvrés
16,32 € TTC
303 page 3Mont.anl. vitocrossal 300 cu3
 
Viessmann
Réf fabricant: 5851414
avec délai
sur devis
304 page 3Serv.anl. vitocrossal 300 cu3
 
Viessmann
Réf fabricant: 5681650
avec délai
sur devis
305 page 5Et-bildl. vitocrossal cu3
 
Viessmann
Réf fabricant: 5781953
avec délai
sur devis
Boitier controle mpa5113-v1.1 cu3 44 kw Viessmann ZK00393
Boitier controle mpa5113-v1.1 cu3 44 kw
Code article PEX: 297069
Viessmann
Réf fabricant: ZK00393
 
obsolète
 
Boitier de contr.gaz mpa5113-v1.1 Viessmann 7831294
Boitier de contr.gaz mpa5113-v1.1
Code article PEX: 252366
Viessmann
Réf fabricant: 7831294
± 3 jours ouvrés
756,00 € TTC
Module de contole mpa5113 Viessmann 7828881
Module de contole mpa5113
Code article PEX: 251742
Viessmann
Réf fabricant: 7828881
± 3 jours ouvrés
444,00 € TTC
Entree de cables mpa51 Viessmann 7828882
Entree de cables mpa51
Code article PEX: 298867
Viessmann
Réf fabricant: 7828882
± 3 jours ouvrés
26,40 € TTC
Carte memoire de parametrage cu3 44kw Viessmann 7838508
Carte memoire de parametrage cu3 44kw
Code article PEX: 300483
Viessmann
Réf fabricant: 7838508
± 3 jours ouvrés
246,00 € TTC


Dans cette page vous trouverez l'ensemble des articles et pièces détachées de chaufferie qui composent la nomenclature Chaudière Viessmann VITOCROSSAL CU3 49-44KW (7170769) 7170769 ainsi que des liens vers les articles Viessmann. En parcourant la page Viessmann, vous pourrez également trouver toutes les pièces Viessmann présentes chez Pièces Express. L'indication de stock vous permet de savoir si la pièce détachée est disponible dans notre stock central ou bien avec un délai fournisseur. Dans ce dernier cas, renseignez vous, nous commandons très régulièrement chez chacun de nos fournisseurs, nous pouvons donc certainement répondre à votre besoin rapidement.

Nos marques
Nos catalogues
Nos outils
Nos gicleurs fioul
Nos bougies pour poêles à pellets
Pièces détachées de chauffage et climatisation
PIÈCES EXPRESS
1 rue Philippe LEBON
ZA Henri Spriet
14120 MONDEVILLE
Téléphone: 02 14 47 16 10
Siret: 790 553 242 00013
Tva: FR 38 790553242

4.7
159 avis