Pièces détachées de chauffage et climatisation
Plus de 650 000 références fabricants disponibles
Livraison en France et en Belgique
4.7
MARQUES ▾
CATALOGUES ▾
VUES ÉCLATÉES ▾ CODES DÉFAUTS ▾
OUTILS DE RECHERCHE ▾
FAQ / TUTOS
DÉSTOCKAGE
>
VOTRE RECHERCHE

Brûleur Viessmann VITOFLAME 100 VEHIII 230 kW (7419704)



page 1
page 2
page 3
page 4
page 5
page 6
Pièces détachées Brûleur Viessmann VITOFLAME 100 VEHIII 230 kW (7419704) chez Pièces Express


Référence fabricant
PositionSchéma
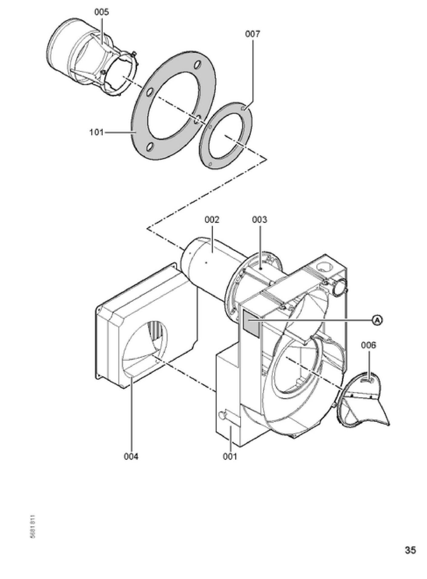
7829014Carter de brûleur gr.6 vehiii1
7812897Tete de bruleur bruleur fuel2
7810600Vis de fixation m8 x 83
7829016Matelas insonorisant vehiii4
7829018Aspiration d air avec deflecteur vehiii6
7810427Joint 190 x 135 x 57
7894804Adaptateur capot protège-brûleur vehiii8
7836834Commutateur a bascule 1-pole9
7820976Cache anthracite10
7380260Testeur avec lampe de derangement11
7829020Capot bruleurvehiii12
7826668Accessoires fixation capot13
7832744Transformateur électronique ebi4m14
7829021Servo moteur15
7829022Boitier de contrôle lme81.810 a2v (fuel)16
7839368Moteur de ventilateur vehiii 320w17
7839776Piece d accouplement18
7829024Flexible fuel nw 4.0 l=45019
7829025Protection vehiii20
7829026Dispositif reglage ligne gicleur vehiii22
7829028Turbine tlr 180x7423
7829027Surveillance de flamme vehiii24
7831009Cable d allumage 1,00 sw l=42025
7810717Bloc électrodes d'allumage veiii26
7831016Gicleur 4,0 gph 60° b delavan27
7815125Joint torique 19 x 2,5 simrit28
7822615Accroche-flamme conique d=9029
7810712Clapet de regulation d air30
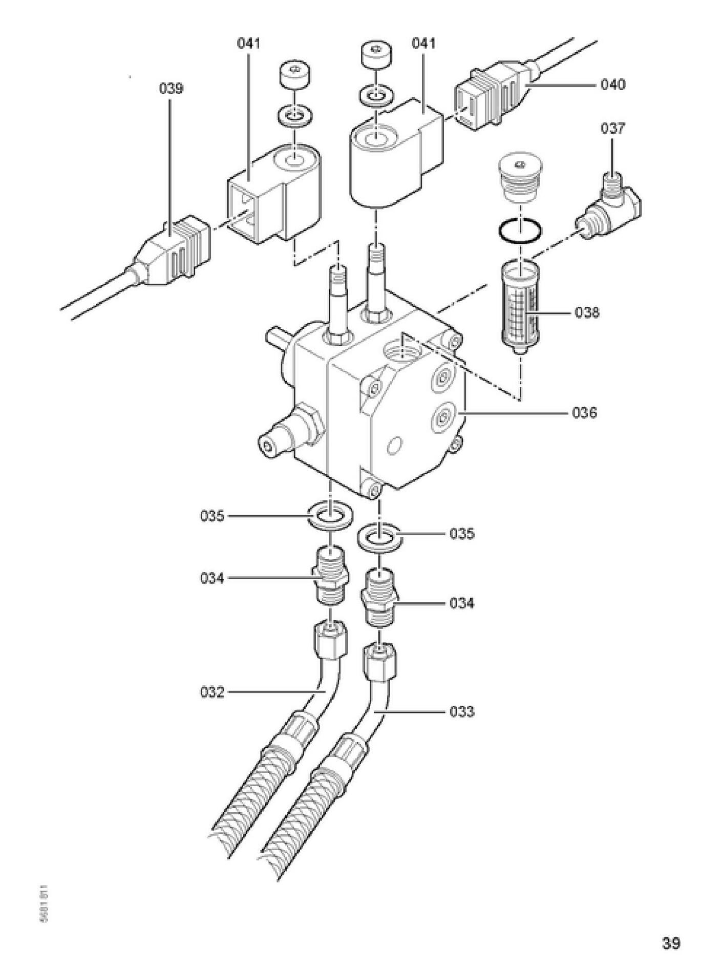
7829033Ligne de gicleurs vehiii gr.131
7875238Viessmann : set olschlauche vor-/rucklau32
7875238Viessmann : set olschlauche vor-/rucklau33
7818891Mamelon pompe fuel34
7218748Joint cuivre d'étanchéité cu 1/4"35
7840265Pompe fuel at2v 55 c 9672 4p 07 0036
7815481Coude filete37
7818904Filtre pompe a fuel38
7829035Anschlussleitung olpumpe st.2 vehiii39
7829036Cable raccord. pompe fuel st.1 vehiii40
7858539Bobine t85 plus41
7840265Pompe fuel at2v 55 c 9672 4p 07 0044
7817919Kit pieces pour pompe fuel suntec45
7838979Bobine t80 pour electrovanne ( suntec )46
7307657Paquet boite bruleur47
5369238Mont.anl. vitoflame 100 vehiii (bw)71
5681811Serv.anl. vitoflame 100 vehiii (bw)72
7829037Accessoires vehiii80
7894685Câble de raccordement ventilateur81


Les images des vues éclatées peuvent contenir des prix datant de plusieurs années, merci de ne pas en tenir compte










Pièces détachées contenues dans cet appareil Brûleur Viessmann VITOFLAME 100 VEHIII 230 kW (7419704)



PhotoPosition vue éclatéeArticleRéférence fabricantDisponibilité et prix 
1 page 1Carter de brûleur gr.6 vehiii
 
Viessmann
Réf fabricant: 7829014
avec délai
sur devis
Tete de bruleur bruleur fuel Viessmann 7812897
Tete de bruleur bruleur fuel
Code article PEX: 244686
Viessmann
Réf fabricant: 7812897
± 3 jours ouvrés
294,00 € TTC
Vis de fixation m8 x 8 Viessmann 7810600
Vis de fixation m8 x 8
Code article PEX: 243923
Viessmann
Réf fabricant: 7810600
± 3 jours ouvrés
8,64 € TTC
Matelas insonorisant vehiii Viessmann 7829016
Matelas insonorisant vehiii
Code article PEX: 251787
Viessmann
Réf fabricant: 7829016
± 3 jours ouvrés
262,80 € TTC
Aspiration d air avec deflecteur vehiii Viessmann 7829018
Aspiration d air avec deflecteur vehiii
Code article PEX: 251789
Viessmann
Réf fabricant: 7829018
± 3 jours ouvrés
39,60 € TTC
Joint 190 x 135 x 5 Viessmann 7810427
Joint 190 x 135 x 5
Code article PEX: 243855
Viessmann
Réf fabricant: 7810427
± 3 jours ouvrés
26,40 € TTC
8 page 4Adaptateur capot protège-brûleur vehiii
 
Viessmann
Réf fabricant: 7894804
avec délai
sur devis
Commutateur a bascule 1-pole Viessmann 7836834
Commutateur a bascule 1-pole
Code article PEX: 300194
Viessmann
Réf fabricant: 7836834
± 3 jours ouvrés
18,36 € TTC
Cache anthracite Viessmann 7820976
Cache anthracite
Code article PEX: 248347
Viessmann
Réf fabricant: 7820976
± 3 jours ouvrés
13,44 € TTC
Testeur avec lampe de derangement Viessmann 7380260
Testeur avec lampe de derangement
Code article PEX: 243204
Viessmann
Réf fabricant: 7380260
± 3 jours ouvrés
28,80 € TTC
Capot bruleurvehiii Viessmann 7829020
Capot bruleurvehiii
Code article PEX: 251791
Viessmann
Réf fabricant: 7829020
± 3 jours ouvrés
342,00 € TTC
Accessoires fixation capot Viessmann 7826668
Accessoires fixation capot
Code article PEX: 250800
Viessmann
Réf fabricant: 7826668
± 3 jours ouvrés
33,60 € TTC
Allumeur EBI4 2x7,5 230v Viessmann 7832744
Allumeur ebi4 2x7,5 230v
Code article PEX: 342994
Viessmann
Réf fabricant: 7832744
en stock
79,12 € TTC
Servo moteur Viessmann 7829021
Servo moteur
Code article PEX: 251792
Viessmann
Réf fabricant: 7829021
± 3 jours ouvrés
414,00 € TTC
Boitier de contrôle LME81.810 A2V (fuel) Viessmann 7829022
Boitier de contrôle lme81.810 a2v (fuel)
Code article PEX: 251793
Viessmann
Réf fabricant: 7829022
± 3 jours ouvrés
524,40 € TTC
Moteur de ventilateur vehiii 320w Viessmann 7839368
Moteur de ventilateur vehiii 320w
Code article PEX: 315304
Viessmann
Réf fabricant: 7839368
± 3 jours ouvrés
414,00 € TTC
Piece d accouplement Viessmann 7839776
Piece d accouplement
Code article PEX: 300892
Viessmann
Réf fabricant: 7839776
± 3 jours ouvrés
15,84 € TTC
Flexible fuel nw 4.0 l=450 Viessmann 7829024
Flexible fuel nw 4.0 l=450
Code article PEX: 752568
Viessmann
Réf fabricant: 7829024
± 3 jours ouvrés
54,00 € TTC
Protection vehiii Viessmann 7829025
Protection vehiii
Code article PEX: 251796
Viessmann
Réf fabricant: 7829025
± 3 jours ouvrés
178,80 € TTC
Dispositif reglage ligne gicleur vehiii Viessmann 7829026
Dispositif reglage ligne gicleur vehiii
Code article PEX: 251797
Viessmann
Réf fabricant: 7829026
± 3 jours ouvrés
46,80 € TTC
Turbine tlr 180x74 Viessmann 7829028
Turbine tlr 180x74
Code article PEX: 251799
Viessmann
Réf fabricant: 7829028
± 3 jours ouvrés
91,20 € TTC
Surveillance de flamme vehiii Viessmann 7829027
Surveillance de flamme vehiii
Code article PEX: 251798
Viessmann
Réf fabricant: 7829027
± 3 jours ouvrés
91,20 € TTC
cable d allumage 1,00 sw l=420 Viessmann 7831009
Cable d allumage 1,00 sw l=420
Code article PEX: 252292
Viessmann
Réf fabricant: 7831009
en stock
33,60 € TTC
Bloc électrodes d'allumage VEIII Viessmann 7810717
Bloc électrodes d'allumage veiii
Code article PEX: 243970
Viessmann
Réf fabricant: 7810717
en stock
80,40 € TTC
Gicleur 4,0 gph 60° b delavan Viessmann 7831016
Gicleur 4,0 gph 60° b delavan
Code article PEX: 252299
Viessmann
Réf fabricant: 7831016
± 3 jours ouvrés
38,40 € TTC
Joint torique 19 x 2,5 simrit Viessmann 7815125
Joint torique 19 x 2,5 simrit
Code article PEX: 245278
Viessmann
Réf fabricant: 7815125
± 3 jours ouvrés
9,84 € TTC
Accroche-flamme conique d=90 Viessmann 7822615
Accroche-flamme conique d=90
Code article PEX: 248722
Viessmann
Réf fabricant: 7822615
± 3 jours ouvrés
200,40 € TTC
Clapet de regulation d air Viessmann 7810712
Clapet de regulation d air
Code article PEX: 243967
Viessmann
Réf fabricant: 7810712
± 3 jours ouvrés
50,40 € TTC
Ligne de gicleurs vehiii gr.1 Viessmann 7829033
Ligne de gicleurs vehiii gr.1
Code article PEX: 251804
Viessmann
Réf fabricant: 7829033
± 3 jours ouvrés
118,80 € TTC
Viessmann : set olschlauche vor-/rucklau Viessmann 7875238
Viessmann : set olschlauche vor-/rucklau
Code article PEX: 662957
Viessmann
Réf fabricant: 7875238
± 3 jours ouvrés
46,80 € TTC
Mamelon pompe fuel Viessmann 7818891
Mamelon pompe fuel
Code article PEX: 247097
Viessmann
Réf fabricant: 7818891
± 3 jours ouvrés
25,20 € TTC
Joint cuivre d'étanchéité CU 1/4" Viessmann 7218748
Joint cuivre d'étanchéité cu 1/4"
Code article PEX: 241021
Viessmann
Réf fabricant: 7218748
± 3 jours ouvrés
16,08 € TTC
Pompe fuel at2v 55 c 9672 4p 07 00 Viessmann 7840265
Pompe fuel at2v 55 c 9672 4p 07 00
Code article PEX: 301004
Viessmann
Réf fabricant: 7840265
± 3 jours ouvrés
378,00 € TTC
Coude filete Viessmann 7815481
Coude filete
Code article PEX: 245439
Viessmann
Réf fabricant: 7815481
± 3 jours ouvrés
54,00 € TTC
Filtre pompe a fuel Viessmann 7818904
Filtre pompe a fuel
Code article PEX: 247107
Viessmann
Réf fabricant: 7818904
± 3 jours ouvrés
39,60 € TTC
Anschlussleitung olpumpe st.2 vehiii Viessmann 7829035
Anschlussleitung olpumpe st.2 vehiii
Code article PEX: 366383
Viessmann
Réf fabricant: 7829035
± 3 jours ouvrés
38,40 € TTC
Cable raccord. pompe fuel st.1 vehiii Viessmann 7829036
Cable raccord. pompe fuel st.1 vehiii
Code article PEX: 251806
Viessmann
Réf fabricant: 7829036
± 3 jours ouvrés
38,40 € TTC
Bobine t85 plus Viessmann 7858539
Bobine t85 plus
Code article PEX: 477158
Viessmann
Réf fabricant: 7858539
en stock
84,00 € TTC
Pompe fuel at2v 55 c 9672 4p 07 00 Viessmann 7840265
Pompe fuel at2v 55 c 9672 4p 07 00
Code article PEX: 301004
Viessmann
Réf fabricant: 7840265
± 3 jours ouvrés
378,00 € TTC
Kit pieces pour pompe fuel suntec Viessmann 7817919
Kit pieces pour pompe fuel suntec
Code article PEX: 246597
Viessmann
Réf fabricant: 7817919
en stock
43,20 € TTC
Bobine t80 pour electrovanne ( suntec ) Viessmann 7838979
Bobine t80 pour electrovanne ( suntec )
Code article PEX: 300644
Viessmann
Réf fabricant: 7838979
en stock
84,00 € TTC
Paquet boite bruleur Viessmann 7307657
Paquet boite bruleur
Code article PEX: 242179
Viessmann
Réf fabricant: 7307657
± 3 jours ouvrés
39,60 € TTC
71 page 6Mont.anl. vitoflame 100 vehiii (bw)
 
Viessmann
Réf fabricant: 5369238
avec délai
sur devis
72 page 3Serv.anl. vitoflame 100 vehiii (bw)
 
Viessmann
Réf fabricant: 5681811
avec délai
sur devis
Accessoires vehiii Viessmann 7829037
Accessoires vehiii
Code article PEX: 251807
Viessmann
Réf fabricant: 7829037
± 3 jours ouvrés
38,40 € TTC
81 page 4Câble de raccordement ventilateur
 
Viessmann
Réf fabricant: 7894685
avec délai
sur devis


Dans cette page vous trouverez l'ensemble des articles et pièces détachées de chaufferie qui composent la nomenclature Brûleur Viessmann VITOFLAME 100 VEHIII 230 kW (7419704) ainsi que des liens vers les articles Viessmann. En parcourant la page Viessmann, vous pourrez également trouver toutes les pièces Viessmann présentes chez Pièces Express. L'indication de stock vous permet de savoir si la pièce détachée est disponible dans notre stock central ou bien avec un délai fournisseur. Dans ce dernier cas, renseignez vous, nous commandons très régulièrement chez chacun de nos fournisseurs, nous pouvons donc certainement répondre à votre besoin rapidement.

Nos marques
Nos catalogues
Nos outils
Nos gicleurs fioul
Nos bougies pour poêles à pellets
Pièces détachées de chauffage et climatisation
PIÈCES EXPRESS
1 rue Philippe LEBON
ZA Henri Spriet
14120 MONDEVILLE
Téléphone: 02 14 47 16 10
Siret: 790 553 242 00013
Tva: FR 38 790553242

4.7
158 avis