Pièces détachées de chauffage et climatisation
Plus de 650 000 références fabricants disponibles
Livraison en France et en Belgique
4.7
MARQUES ▾
CATALOGUES ▾
VUES ÉCLATÉES ▾ CODES DÉFAUTS ▾
OUTILS DE RECHERCHE ▾
FAQ / TUTOS
DÉSTOCKAGE
>
VOTRE RECHERCHE

Brûleur Viessmann VITOFLAME 100 VEHIII 125 kW (7311065)



page 1
page 2
page 3
page 4
page 5
page 6
Pièces détachées Brûleur Viessmann VITOFLAME 100 VEHIII 125 kW (7311065) chez Pièces Express


Référence fabricant
Position Schéma
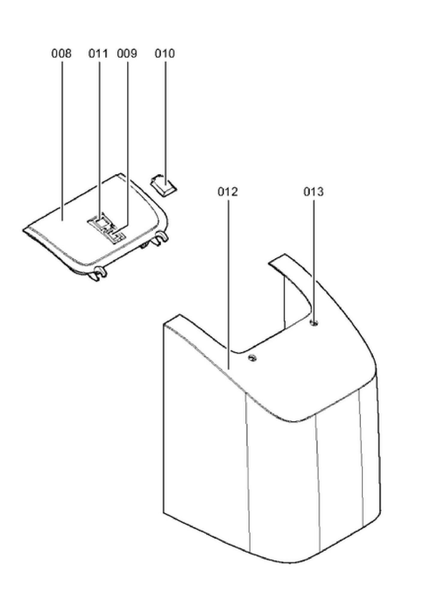
7829011 Carter de brûleur gr.3 vehiii 1
7812894 Tete de bruleur fioul 2
7810600 Vis de fixation m8 x 8 3
7829016 Matelas insonorisant vehiii 4
7829017 Aspiration d air vehiii 6
7810427 Joint 190 x 135 x 5 7
7894804 Adaptateur capot protège-brûleur vehiii 8
7836834 Commutateur a bascule 1-pole 9
7820976 Cache anthracite 10
7380260 Testeur avec lampe de derangement 11
7829020 Capot bruleurvehiii 12
7826668 Accessoires fixation capot 13
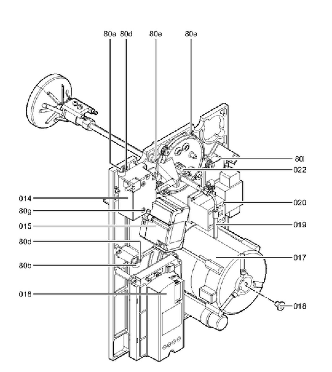
7832744 Transformateur électronique ebi4m 14
7829021 Servo moteur 15
7829022 Boitier de contrôle lme81.810 a2v (fioul) 16
7843839 Moteur brûleur 250 w 17
7218426 Pièces d'accouplement brûleur fioul (sachet de 3) 18
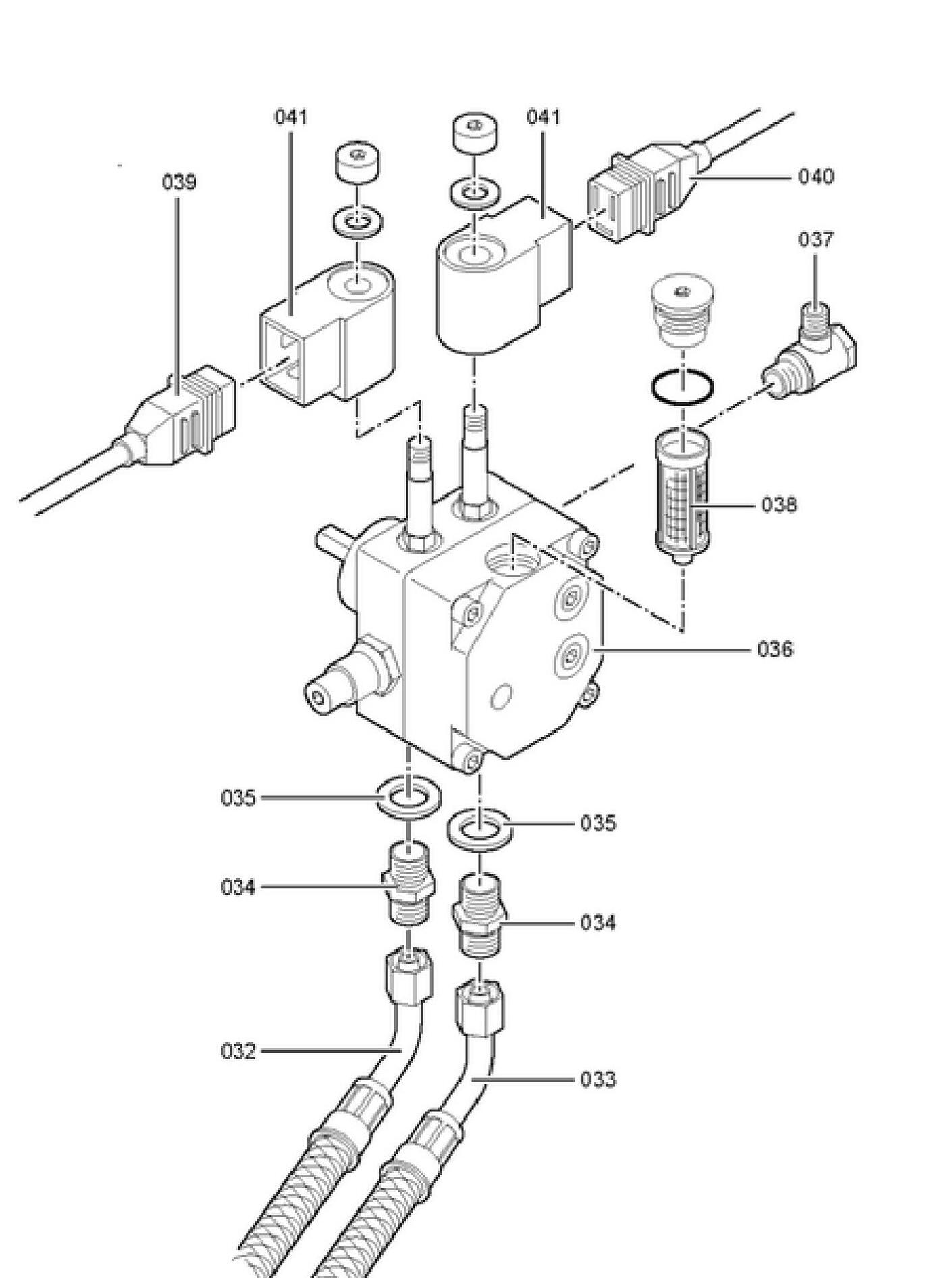
7829024 Flexible fioul nw 4.0 l=450 19
7829026 Dispositif reglage ligne gicleur vehiii 22
7815169 Turbine ø180 x 62 mm 23
7829027 Surveillance de flamme vehiii 24
7831009 Cable d allumage 1,00 sw l=420 25
7810717 Bloc électrodes d'allumage veiii 26
7831013 Gicleur 2,00 gph 60° h fluidics 27
7815125 Joint torique 19 x 2,5 simrit 28
7812899 Accroche-flamme 29
7829032 Clapet d admission d air vehiii 30
7829033 Ligne de gicleurs vehiii gr.1 31
7875238 Viessmann : set olschlauche vor-/rucklau 32
7875238 Viessmann : set olschlauche vor-/rucklau 33
7818891 Mamelon pompe fioul 34
7218748 Joint cuivre d'étanchéité cu 1/4" 35
7840265 Pompe fioul at2v 55 c 9672 4p 07 00 36
7815481 Coude filete 37
7818904 Filtre pompe a fioul 38
7829035 Anschlussleitung olpumpe st.2 vehiii 39
7829036 Cable raccord. pompe fioul st.1 vehiii 40
7858539 Bobine t85 plus 41
7840265 Pompe fioul at2v 55 c 9672 4p 07 00 44
7817919 Kit pieces pour pompe fioul suntec 45
7838979 Bobine t80 pour electrovanne ( suntec ) 46
7307657 Paquet boite bruleur 47
5369238 Mont.anl. vitoflame 100 vehiii (bw) 71
5681811 Serv.anl. vitoflame 100 vehiii (bw) 72
7829037 Accessoires vehiii 80
7839391 Cable 3 poles moteur bruleur fioul 200


Les images des vues éclatées peuvent contenir des prix datant de plusieurs années, merci de ne pas en tenir compte










Pièces détachées contenues dans cet appareil Brûleur Viessmann VITOFLAME 100 VEHIII 125 kW (7311065)



Photo Position vue éclatée Article Référence fabricant Disponibilité et prix  
1 page 1 Carter de brûleur gr.3 vehiii
 
Viessmann
Réf fabricant: 7829011
avec délai
sur devis
Tete de bruleur fioul Viessmann 7812894
Tete de bruleur fioul
Code article PEX: 244683
Viessmann
Réf fabricant: 7812894
± 3 jours ouvrés
285,60 € TTC
Vis de fixation m8 x 8 Viessmann 7810600
Vis de fixation m8 x 8
Code article PEX: 243923
Viessmann
Réf fabricant: 7810600
± 3 jours ouvrés
8,28 € TTC
Matelas insonorisant vehiii Viessmann 7829016
Matelas insonorisant vehiii
Code article PEX: 251787
Viessmann
Réf fabricant: 7829016
± 3 jours ouvrés
255,60 € TTC
Aspiration d air vehiii Viessmann 7829017
Aspiration d air vehiii
Code article PEX: 251788
Viessmann
Réf fabricant: 7829017
± 3 jours ouvrés
26,40 € TTC
Joint 190 x 135 x 5 Viessmann 7810427
Joint 190 x 135 x 5
Code article PEX: 243855
Viessmann
Réf fabricant: 7810427
± 3 jours ouvrés
23,52 € TTC
8 page 1 Adaptateur capot protège-brûleur vehiii
 
Viessmann
Réf fabricant: 7894804
avec délai
sur devis
Commutateur a bascule 1-pole Viessmann 7836834
Commutateur a bascule 1-pole
Code article PEX: 300194
Viessmann
Réf fabricant: 7836834
± 3 jours ouvrés
17,64 € TTC
Cache anthracite Viessmann 7820976
Cache anthracite
Code article PEX: 248347
Viessmann
Réf fabricant: 7820976
± 3 jours ouvrés
12,96 € TTC
Testeur avec lampe de derangement Viessmann 7380260
Testeur avec lampe de derangement
Code article PEX: 243204
Viessmann
Réf fabricant: 7380260
± 3 jours ouvrés
26,40 € TTC
Capot bruleurvehiii Viessmann 7829020
Capot bruleurvehiii
Code article PEX: 251791
Viessmann
Réf fabricant: 7829020
± 3 jours ouvrés
332,40 € TTC
Accessoires fixation capot Viessmann 7826668
Accessoires fixation capot
Code article PEX: 250800
Viessmann
Réf fabricant: 7826668
± 3 jours ouvrés
30,00 € TTC
Allumeur EBI4 2x7,5 230v Viessmann 7832744
Allumeur ebi4 2x7,5 230v
Code article PEX: 342994
Viessmann
Réf fabricant: 7832744
en stock
79,12 € TTC
Servo moteur Viessmann 7829021
Servo moteur
Code article PEX: 251792
Viessmann
Réf fabricant: 7829021
± 3 jours ouvrés
402,00 € TTC
Boitier de contrôle LME81.810 A2V (fioul) Viessmann 7829022
Boitier de contrôle lme81.810 a2v (fioul)
Code article PEX: 251793
Viessmann
Réf fabricant: 7829022
± 3 jours ouvrés
508,80 € TTC
Moteur brûleur 250 w Viessmann 7843839
Moteur brûleur 250 w
Code article PEX: 315628
Viessmann
Réf fabricant: 7843839
± 3 jours ouvrés
450,00 € TTC
Pièces d'accouplement brûleur fioul (sachet de 3) Viessmann 7218426
Pièces d'accouplement brûleur fioul (sachet de 3)
Code article PEX: 241006
Viessmann
Réf fabricant: 7218426
en stock
11,76 € TTC
Flexible fioul nw 4.0 l=450 Viessmann 7829024
Flexible fioul nw 4.0 l=450
Code article PEX: 752568
Viessmann
Réf fabricant: 7829024
± 3 jours ouvrés
51,60 € TTC
Dispositif reglage ligne gicleur vehiii Viessmann 7829026
Dispositif reglage ligne gicleur vehiii
Code article PEX: 251797
Viessmann
Réf fabricant: 7829026
± 3 jours ouvrés
42,00 € TTC
Turbine Ø180 x 62 mm Viessmann 7815169
Turbine ø180 x 62 mm
Code article PEX: 245296
Viessmann
Réf fabricant: 7815169
± 3 jours ouvrés
115,20 € TTC
Surveillance de flamme vehiii Viessmann 7829027
Surveillance de flamme vehiii
Code article PEX: 251798
Viessmann
Réf fabricant: 7829027
± 3 jours ouvrés
86,40 € TTC
cable d allumage 1,00 sw l=420 Viessmann 7831009
Cable d allumage 1,00 sw l=420
Code article PEX: 252292
Viessmann
Réf fabricant: 7831009
± 3 jours ouvrés
30,00 € TTC
Bloc électrodes d'allumage VEIII Viessmann 7810717
Bloc électrodes d'allumage veiii
Code article PEX: 243970
Viessmann
Réf fabricant: 7810717
en stock
75,60 € TTC
Gicleur 2,00 gph 60° h fluidics Viessmann 7831013
Gicleur 2,00 gph 60° h fluidics
Code article PEX: 252296
Viessmann
Réf fabricant: 7831013
± 3 jours ouvrés
36,00 € TTC
Joint torique 19 x 2,5 simrit Viessmann 7815125
Joint torique 19 x 2,5 simrit
Code article PEX: 245278
Viessmann
Réf fabricant: 7815125
± 3 jours ouvrés
9,48 € TTC
Accroche-flamme Viessmann 7812899
Accroche-flamme
Code article PEX: 244688
Viessmann
Réf fabricant: 7812899
± 3 jours ouvrés
194,40 € TTC
Clapet d admission d air vehiii Viessmann 7829032
Clapet d admission d air vehiii
Code article PEX: 251803
Viessmann
Réf fabricant: 7829032
± 3 jours ouvrés
51,60 € TTC
Ligne de gicleurs vehiii gr.1 Viessmann 7829033
Ligne de gicleurs vehiii gr.1
Code article PEX: 251804
Viessmann
Réf fabricant: 7829033
± 3 jours ouvrés
115,20 € TTC
Viessmann : set olschlauche vor-/rucklau Viessmann 7875238
Viessmann : set olschlauche vor-/rucklau
Code article PEX: 662957
Viessmann
Réf fabricant: 7875238
± 3 jours ouvrés
42,00 € TTC
Mamelon pompe fioul Viessmann 7818891
Mamelon pompe fioul
Code article PEX: 247097
Viessmann
Réf fabricant: 7818891
± 3 jours ouvrés
22,80 € TTC
Joint cuivre d'étanchéité CU 1/4" Viessmann 7218748
Joint cuivre d'étanchéité cu 1/4"
Code article PEX: 241021
Viessmann
Réf fabricant: 7218748
± 3 jours ouvrés
15,48 € TTC
Pompe fioul at2v 55 c 9672 4p 07 00 Viessmann 7840265
Pompe fioul at2v 55 c 9672 4p 07 00
Code article PEX: 301004
Viessmann
Réf fabricant: 7840265
± 3 jours ouvrés
367,20 € TTC
Coude filete Viessmann 7815481
Coude filete
Code article PEX: 245439
Viessmann
Réf fabricant: 7815481
± 3 jours ouvrés
51,60 € TTC
Filtre pompe a fioul Viessmann 7818904
Filtre pompe a fioul
Code article PEX: 247107
Viessmann
Réf fabricant: 7818904
± 3 jours ouvrés
36,00 € TTC
Anschlussleitung olpumpe st.2 vehiii Viessmann 7829035
Anschlussleitung olpumpe st.2 vehiii
Code article PEX: 366383
Viessmann
Réf fabricant: 7829035
± 3 jours ouvrés
34,80 € TTC
Cable raccord. pompe fioul st.1 vehiii Viessmann 7829036
Cable raccord. pompe fioul st.1 vehiii
Code article PEX: 251806
Viessmann
Réf fabricant: 7829036
± 3 jours ouvrés
34,80 € TTC
Bobine t85 plus Viessmann 7858539
Bobine t85 plus
Code article PEX: 477158
Viessmann
Réf fabricant: 7858539
en stock
79,20 € TTC
Pompe fioul at2v 55 c 9672 4p 07 00 Viessmann 7840265
Pompe fioul at2v 55 c 9672 4p 07 00
Code article PEX: 301004
Viessmann
Réf fabricant: 7840265
± 3 jours ouvrés
367,20 € TTC
Kit pieces pour pompe fioul suntec Viessmann 7817919
Kit pieces pour pompe fioul suntec
Code article PEX: 246597
Viessmann
Réf fabricant: 7817919
en stock
39,60 € TTC
Bobine t80 pour electrovanne ( suntec ) Viessmann 7838979
Bobine t80 pour electrovanne ( suntec )
Code article PEX: 300644
Viessmann
Réf fabricant: 7838979
En cours de réappro
79,20 € TTC
Paquet boite bruleur Viessmann 7307657
Paquet boite bruleur
Code article PEX: 242179
Viessmann
Réf fabricant: 7307657
± 3 jours ouvrés
36,00 € TTC
71 page 1 Mont.anl. vitoflame 100 vehiii (bw)
 
Viessmann
Réf fabricant: 5369238
avec délai
sur devis
72 page 5 Serv.anl. vitoflame 100 vehiii (bw)
 
Viessmann
Réf fabricant: 5681811
avec délai
sur devis
Accessoires vehiii Viessmann 7829037
Accessoires vehiii
Code article PEX: 251807
Viessmann
Réf fabricant: 7829037
± 3 jours ouvrés
34,80 € TTC
Cable 3 poles moteur bruleur fioul Viessmann 7839391
Cable 3 poles moteur bruleur fioul
Code article PEX: 315306
Viessmann
Réf fabricant: 7839391
± 3 jours ouvrés
48,00 € TTC


Dans cette page vous trouverez l'ensemble des articles et pièces détachées de chaufferie qui composent la nomenclature Brûleur Viessmann VITOFLAME 100 VEHIII 125 kW (7311065) ainsi que des liens vers les articles Viessmann. En parcourant la page Viessmann, vous pourrez également trouver toutes les pièces Viessmann présentes chez Pièces Express. L'indication de stock vous permet de savoir si la pièce détachée est disponible dans notre stock central ou bien avec un délai fournisseur. Dans ce dernier cas, renseignez vous, nous commandons très régulièrement chez chacun de nos fournisseurs, nous pouvons donc certainement répondre à votre besoin rapidement.

Nos marques
Nos catalogues
Nos outils
Nos gicleurs fioul
Nos bougies pour poêles à pellets
Pièces détachées de chauffage et climatisation
PIÈCES EXPRESS
1 rue Philippe LEBON
ZA Henri Spriet
14120 MONDEVILLE
Téléphone: 02 14 47 16 10
Siret: 790 553 242 00013
Tva: FR 38 790553242

4.7
146 avis