Pièces détachées de chauffage et climatisation
Plus de 650 000 références fabricants disponibles
Livraison en France et en Belgique
4.7
MARQUES ▾
CATALOGUES ▾
VUES ÉCLATÉES ▾ CODES DÉFAUTS ▾
OUTILS DE RECHERCHE ▾
FAQ / TUTOS
DÉSTOCKAGE
>
VOTRE RECHERCHE

Brûleur Viessmann VITOFLAME 100 VEHIII 230 kW VD2 (7311068)



page 1
page 2
page 3
page 4
page 5
page 6
Pièces détachées Brûleur Viessmann VITOFLAME 100 VEHIII 230 kW VD2 (7311068) chez Pièces Express


Référence fabricant
Position Schéma
7829014 Carter de brûleur gr.6 vehiii 0001
7812897 Tete de bruleur bruleur fioul 0002
7810600 Vis de fixation m8 x 8 0003
7829016 Matelas insonorisant vehiii 0004
7829018 Aspiration d air avec deflecteur vehiii 0006
7810427 Joint 190 x 135 x 5 0007
7894804 Adaptateur capot protège-brûleur vehiii 0008
7836834 Commutateur a bascule 1-pole 0009
7820976 Cache anthracite 0010
7380260 Testeur avec lampe de derangement 0011
7829020 Capot bruleurvehiii 0012
7826668 Accessoires fixation capot 0013
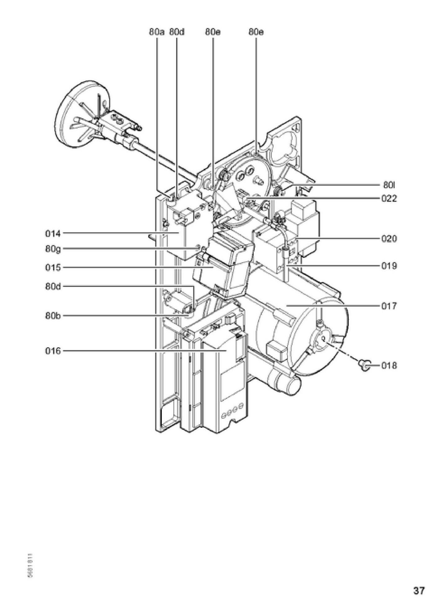
7832744 Transformateur électronique ebi4m 0014
7829021 Servo moteur 0015
7829022 Boitier de contrôle lme81.810 a2v (fioul) 0016
7839368 Moteur de ventilateur vehiii 320w 0017
7839776 Piece d accouplement 0018
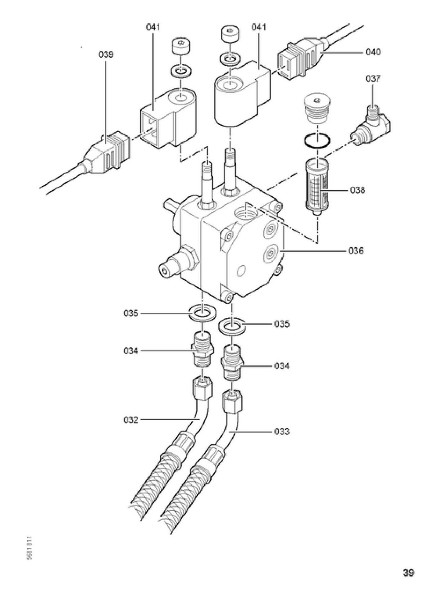
7829024 Flexible fioul nw 4.0 l=450 0019
7829025 Protection vehiii 0020
7829026 Dispositif reglage ligne gicleur vehiii 0022
7829028 Turbine tlr 180x74 0023
7829027 Surveillance de flamme vehiii 0024
7831009 Cable d allumage 1,00 sw l=420 0025
7810717 Bloc électrodes d'allumage veiii 0026
7831016 Gicleur 4,0 gph 60° b delavan 0027
7815125 Joint torique 19 x 2,5 simrit 0028
7822615 Accroche-flamme conique d=90 0029
7810712 Clapet de regulation d air 0030
7829033 Ligne de gicleurs vehiii gr.1 0031
7875238 Viessmann : set olschlauche vor-/rucklau 0032
7875238 Viessmann : set olschlauche vor-/rucklau 0033
7818891 Mamelon pompe fioul 0034
7218748 Joint cuivre d'étanchéité cu 1/4" 0035
7840265 Pompe fioul at2v 55 c 9672 4p 07 00 0036
7815481 Coude filete 0037
7818904 Filtre pompe a fioul 0038
7829035 Anschlussleitung olpumpe st.2 vehiii 0039
7829036 Cable raccord. pompe fioul st.1 vehiii 0040
7858539 Bobine t85 plus 0041
7840265 Pompe fioul at2v 55 c 9672 4p 07 00 0044
7817919 Kit pieces pour pompe fioul suntec 0045
7838979 Bobine t80 pour electrovanne ( suntec ) 0046
7307657 Paquet boite bruleur 0047
5369238 Mont.anl. vitoflame 100 vehiii (bw) 0071
5681811 Serv.anl. vitoflame 100 vehiii (bw) 0072
7829037 Accessoires vehiii 0080
7894685 Câble de raccordement ventilateur 0081


Les images des vues éclatées peuvent contenir des prix datant de plusieurs années, merci de ne pas en tenir compte










Pièces détachées contenues dans cet appareil Brûleur Viessmann VITOFLAME 100 VEHIII 230 kW VD2 (7311068)



Photo Position vue éclatée Article Référence fabricant Disponibilité et prix  
0001 page 1 Carter de brûleur gr.6 vehiii
 
Viessmann
Réf fabricant: 7829014
avec délai
sur devis
Tete de bruleur bruleur fioul Viessmann 7812897
Tete de bruleur bruleur fioul
Code article PEX: 244686
Viessmann
Réf fabricant: 7812897
± 3 jours ouvrés
285,60 € TTC
Vis de fixation m8 x 8 Viessmann 7810600
Vis de fixation m8 x 8
Code article PEX: 243923
Viessmann
Réf fabricant: 7810600
± 3 jours ouvrés
8,28 € TTC
Matelas insonorisant vehiii Viessmann 7829016
Matelas insonorisant vehiii
Code article PEX: 251787
Viessmann
Réf fabricant: 7829016
± 3 jours ouvrés
255,60 € TTC
Aspiration d air avec deflecteur vehiii Viessmann 7829018
Aspiration d air avec deflecteur vehiii
Code article PEX: 251789
Viessmann
Réf fabricant: 7829018
± 3 jours ouvrés
36,00 € TTC
Joint 190 x 135 x 5 Viessmann 7810427
Joint 190 x 135 x 5
Code article PEX: 243855
Viessmann
Réf fabricant: 7810427
± 3 jours ouvrés
23,52 € TTC
0008 page 4 Adaptateur capot protège-brûleur vehiii
 
Viessmann
Réf fabricant: 7894804
avec délai
sur devis
Commutateur a bascule 1-pole Viessmann 7836834
Commutateur a bascule 1-pole
Code article PEX: 300194
Viessmann
Réf fabricant: 7836834
± 3 jours ouvrés
17,64 € TTC
Cache anthracite Viessmann 7820976
Cache anthracite
Code article PEX: 248347
Viessmann
Réf fabricant: 7820976
± 3 jours ouvrés
12,96 € TTC
Testeur avec lampe de derangement Viessmann 7380260
Testeur avec lampe de derangement
Code article PEX: 243204
Viessmann
Réf fabricant: 7380260
± 3 jours ouvrés
26,40 € TTC
Capot bruleurvehiii Viessmann 7829020
Capot bruleurvehiii
Code article PEX: 251791
Viessmann
Réf fabricant: 7829020
± 3 jours ouvrés
332,40 € TTC
Accessoires fixation capot Viessmann 7826668
Accessoires fixation capot
Code article PEX: 250800
Viessmann
Réf fabricant: 7826668
± 3 jours ouvrés
30,00 € TTC
Allumeur EBI4 2x7,5 230v Viessmann 7832744
Allumeur ebi4 2x7,5 230v
Code article PEX: 342994
Viessmann
Réf fabricant: 7832744
en stock
79,12 € TTC
Servo moteur Viessmann 7829021
Servo moteur
Code article PEX: 251792
Viessmann
Réf fabricant: 7829021
± 3 jours ouvrés
402,00 € TTC
Boitier de contrôle LME81.810 A2V (fioul) Viessmann 7829022
Boitier de contrôle lme81.810 a2v (fioul)
Code article PEX: 251793
Viessmann
Réf fabricant: 7829022
± 3 jours ouvrés
508,80 € TTC
Moteur de ventilateur vehiii 320w Viessmann 7839368
Moteur de ventilateur vehiii 320w
Code article PEX: 315304
Viessmann
Réf fabricant: 7839368
± 3 jours ouvrés
402,00 € TTC
Piece d accouplement Viessmann 7839776
Piece d accouplement
Code article PEX: 300892
Viessmann
Réf fabricant: 7839776
± 3 jours ouvrés
15,24 € TTC
Flexible fioul nw 4.0 l=450 Viessmann 7829024
Flexible fioul nw 4.0 l=450
Code article PEX: 752568
Viessmann
Réf fabricant: 7829024
± 3 jours ouvrés
51,60 € TTC
Protection vehiii Viessmann 7829025
Protection vehiii
Code article PEX: 251796
Viessmann
Réf fabricant: 7829025
± 3 jours ouvrés
172,80 € TTC
Dispositif reglage ligne gicleur vehiii Viessmann 7829026
Dispositif reglage ligne gicleur vehiii
Code article PEX: 251797
Viessmann
Réf fabricant: 7829026
± 3 jours ouvrés
42,00 € TTC
Turbine tlr 180x74 Viessmann 7829028
Turbine tlr 180x74
Code article PEX: 251799
Viessmann
Réf fabricant: 7829028
± 3 jours ouvrés
86,40 € TTC
Surveillance de flamme vehiii Viessmann 7829027
Surveillance de flamme vehiii
Code article PEX: 251798
Viessmann
Réf fabricant: 7829027
± 3 jours ouvrés
86,40 € TTC
cable d allumage 1,00 sw l=420 Viessmann 7831009
Cable d allumage 1,00 sw l=420
Code article PEX: 252292
Viessmann
Réf fabricant: 7831009
± 3 jours ouvrés
30,00 € TTC
Bloc électrodes d'allumage VEIII Viessmann 7810717
Bloc électrodes d'allumage veiii
Code article PEX: 243970
Viessmann
Réf fabricant: 7810717
en stock
75,60 € TTC
Gicleur 4,0 gph 60° b delavan Viessmann 7831016
Gicleur 4,0 gph 60° b delavan
Code article PEX: 252299
Viessmann
Réf fabricant: 7831016
± 3 jours ouvrés
34,80 € TTC
Joint torique 19 x 2,5 simrit Viessmann 7815125
Joint torique 19 x 2,5 simrit
Code article PEX: 245278
Viessmann
Réf fabricant: 7815125
± 3 jours ouvrés
9,48 € TTC
Accroche-flamme conique d=90 Viessmann 7822615
Accroche-flamme conique d=90
Code article PEX: 248722
Viessmann
Réf fabricant: 7822615
± 3 jours ouvrés
194,40 € TTC
Clapet de regulation d air Viessmann 7810712
Clapet de regulation d air
Code article PEX: 243967
Viessmann
Réf fabricant: 7810712
± 3 jours ouvrés
45,60 € TTC
Ligne de gicleurs vehiii gr.1 Viessmann 7829033
Ligne de gicleurs vehiii gr.1
Code article PEX: 251804
Viessmann
Réf fabricant: 7829033
± 3 jours ouvrés
115,20 € TTC
Viessmann : set olschlauche vor-/rucklau Viessmann 7875238
Viessmann : set olschlauche vor-/rucklau
Code article PEX: 662957
Viessmann
Réf fabricant: 7875238
± 3 jours ouvrés
42,00 € TTC
Mamelon pompe fioul Viessmann 7818891
Mamelon pompe fioul
Code article PEX: 247097
Viessmann
Réf fabricant: 7818891
± 3 jours ouvrés
22,80 € TTC
Joint cuivre d'étanchéité CU 1/4" Viessmann 7218748
Joint cuivre d'étanchéité cu 1/4"
Code article PEX: 241021
Viessmann
Réf fabricant: 7218748
± 3 jours ouvrés
15,48 € TTC
Pompe fioul at2v 55 c 9672 4p 07 00 Viessmann 7840265
Pompe fioul at2v 55 c 9672 4p 07 00
Code article PEX: 301004
Viessmann
Réf fabricant: 7840265
± 3 jours ouvrés
367,20 € TTC
Coude filete Viessmann 7815481
Coude filete
Code article PEX: 245439
Viessmann
Réf fabricant: 7815481
± 3 jours ouvrés
51,60 € TTC
Filtre pompe a fioul Viessmann 7818904
Filtre pompe a fioul
Code article PEX: 247107
Viessmann
Réf fabricant: 7818904
± 3 jours ouvrés
36,00 € TTC
Anschlussleitung olpumpe st.2 vehiii Viessmann 7829035
Anschlussleitung olpumpe st.2 vehiii
Code article PEX: 366383
Viessmann
Réf fabricant: 7829035
± 3 jours ouvrés
34,80 € TTC
Cable raccord. pompe fioul st.1 vehiii Viessmann 7829036
Cable raccord. pompe fioul st.1 vehiii
Code article PEX: 251806
Viessmann
Réf fabricant: 7829036
± 3 jours ouvrés
34,80 € TTC
Bobine t85 plus Viessmann 7858539
Bobine t85 plus
Code article PEX: 477158
Viessmann
Réf fabricant: 7858539
en stock
79,20 € TTC
Pompe fioul at2v 55 c 9672 4p 07 00 Viessmann 7840265
Pompe fioul at2v 55 c 9672 4p 07 00
Code article PEX: 301004
Viessmann
Réf fabricant: 7840265
± 3 jours ouvrés
367,20 € TTC
Kit pieces pour pompe fioul suntec Viessmann 7817919
Kit pieces pour pompe fioul suntec
Code article PEX: 246597
Viessmann
Réf fabricant: 7817919
en stock
39,60 € TTC
Bobine t80 pour electrovanne ( suntec ) Viessmann 7838979
Bobine t80 pour electrovanne ( suntec )
Code article PEX: 300644
Viessmann
Réf fabricant: 7838979
En cours de réappro
79,20 € TTC
Paquet boite bruleur Viessmann 7307657
Paquet boite bruleur
Code article PEX: 242179
Viessmann
Réf fabricant: 7307657
± 3 jours ouvrés
36,00 € TTC
0071 page 6 Mont.anl. vitoflame 100 vehiii (bw)
 
Viessmann
Réf fabricant: 5369238
avec délai
sur devis
0072 page 3 Serv.anl. vitoflame 100 vehiii (bw)
 
Viessmann
Réf fabricant: 5681811
avec délai
sur devis
Accessoires vehiii Viessmann 7829037
Accessoires vehiii
Code article PEX: 251807
Viessmann
Réf fabricant: 7829037
± 3 jours ouvrés
34,80 € TTC
0081 page 4 Câble de raccordement ventilateur
 
Viessmann
Réf fabricant: 7894685
avec délai
sur devis


Dans cette page vous trouverez l'ensemble des articles et pièces détachées de chaufferie qui composent la nomenclature Brûleur Viessmann VITOFLAME 100 VEHIII 230 kW VD2 (7311068) ainsi que des liens vers les articles Viessmann. En parcourant la page Viessmann, vous pourrez également trouver toutes les pièces Viessmann présentes chez Pièces Express. L'indication de stock vous permet de savoir si la pièce détachée est disponible dans notre stock central ou bien avec un délai fournisseur. Dans ce dernier cas, renseignez vous, nous commandons très régulièrement chez chacun de nos fournisseurs, nous pouvons donc certainement répondre à votre besoin rapidement.

Nos marques
Nos catalogues
Nos outils
Nos gicleurs fioul
Nos bougies pour poêles à pellets
Pièces détachées de chauffage et climatisation
PIÈCES EXPRESS
1 rue Philippe LEBON
ZA Henri Spriet
14120 MONDEVILLE
Téléphone: 02 14 47 16 10
Siret: 790 553 242 00013
Tva: FR 38 790553242

4.7
146 avis