Pièces détachées de chauffage et climatisation
Plus de 650 000 références fabricants disponibles
Livraison en France et en Belgique
MARQUES ▾
CATALOGUES ▾
VUES ÉCLATÉES ▾ CODES DÉFAUTS ▾
OUTILS DE RECHERCHE ▾
FAQ / TUTOS
DÉSTOCKAGE
>
VOTRE RECHERCHE

Chaudière Viessmann VITOLADENS 300 C BC3 12-18KW (7439973)



page 5
page 6
page 7
page 8
page 9
Pièces détachées Chaudière Viessmann VITOLADENS 300 C BC3 12-18KW (7439973) chez Pièces Express


Référence fabricant
Position Schéma
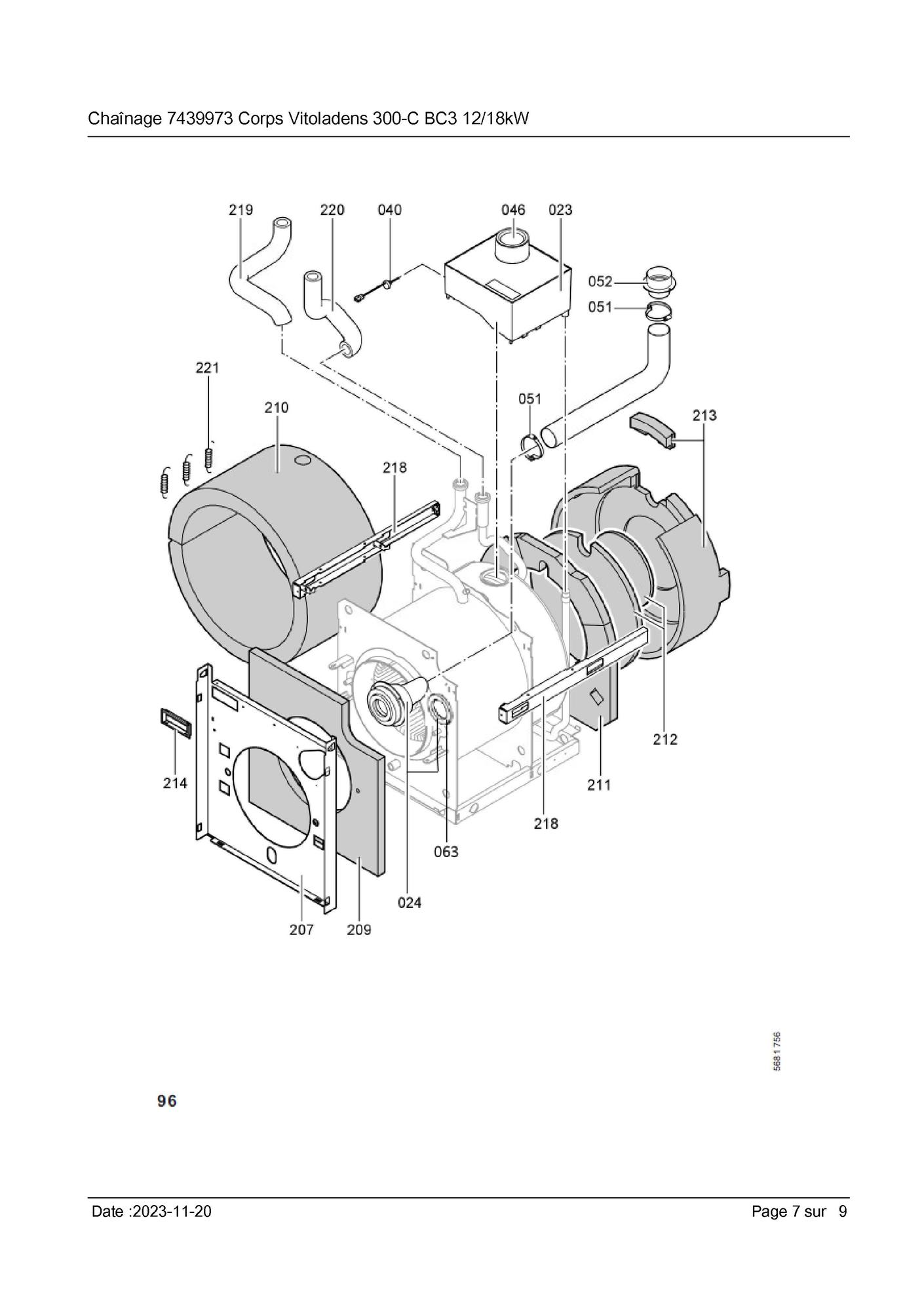
7836723 Tube flamme 1,0 bc3 18/27kw (sav) 1
7855288 Transformateur d allumage 230v 50/60hz 2
7836331 Moteur pompe fioul 50 watt 3
7840266 Pompe fioul ate2v 45c 9355 6p 07 00 4
7839917 Prechauffeur de fioul fphe-le 1 x ptc50 5
7816297 Gicleur 0,40 gph 80° h le danfoss 6
7874274 Ventilateur radial vcs0134 xshcz 7
7823386 Pressostat dl5eg-1p32z 8
7836509 Jeu de joints pour ventilateur radial 9
7839971 Bloc d'électrodes d'allumage (7508848) 10
7834493 Etriers et vis 11
7834511 Rondelles d epais. isolant avant foyer 12
7827956 Bloc isolant 13
7855087 Systeme de melange 1,5mm 12/18kw 14
7834372 Flexible fioul 15
7827952 Kit cable d allumage 16
7875229 Viessmann : set olschlauche vor-/rucklau 17
7838979 Bobine t80 pour electrovanne ( suntec ) 19
7836850 Accouplement vek jusqu a 63 kw 20
7817919 Kit pieces pour pompe fioul suntec 21
7827908 Joint torique , porte de chaudiere 22
7827909 Amortisseur de son 23
7827910 Canal d arrivee d air 24
7818909 Bocal de filtre magnum 26
7823411 Filtre de rechange microtec mc-18 5um 27
7819223 Tige de charniere gr.1 28
7834467 Joint couvercle+torique+passage de cable 29
7318979 Piece pour bruleur 30
7834469 Capot dispositif de melange avec joints 31
7827915 Porte 22/27kw 32
7485921 Siphon complet 33
7827917 Tube de condensats 34
7825349 Manchons passage manchette raccord. 35
7827911 Brosse d=120 x 100 - m10 36
7815076 Manche pour brosse m10 37
7825490 Interrupteur thermique 38
7819967 Sonde chaudiere 39
7825395 Sonde de temperature de fumees 40
7815481 Coude filete 41
7834468 Sachet ressort et rondelle 42
7819193 Pate thermoconductrice p12 43
7819602 Graisse pour joint (6g) 44
7827918 Clips pour tube d=28 45
7827923 Manchon passage dn80 46
7838109 Ensemble d entretien neutrabox 47
7838110 Kit d entretien filtre a charbon actif 48
7823410 Kit échange filtre à fioul mc-18 pour floco-top-k 49
7823926 Collier de flexible 51
7823928 Adaptateur tube arrivee d air 52
7814863 Vanne a bille r 1/2 avec poignee 53
7836297 Fiche a ressort clips de blocage sonde 54
7827922 Evacuation des condensats 55
7819879 Surete pour fiches 56
7827981 Tube 19 x 600 torsade 57
7828055 Clip de sonde 58
7828424 Tube coude 59
7834509 Pot de combustion 22/27 kw 60
7834504 Accessoires support (4 pcs) 61
7827894 Bornier alim bruleur fiche201 vitoladens 62
7874440 Joint 64 x 92 x 15 63
7815738 Noyau electrovanne 65
7837608 Siphon 66
7837610 Joint plat 67
7487583 Tôle de fixation siphon 68
7855722 Joints toriques 28,24 x 2,62 69
7870573 Kit d entretien bc3 12/18 70
7862231 Regulation vbc141-c00.002 100
7834365 Jeu de parties laterales regulation 101
7830834 Diverse kleinteile f sse schrauben t ll 102
7830830 Partie laterale avec guide cable 103
7834366 Partie avant et laterale regulation 104
7827893 Faisceau de cables x8/x9 105
7827895 Cable raccordement transfo allumage 54 106
7834149 Conduite de racc. prechauff. fioul 121 107
7827897 Conduite surveillance de flamme 124 108
7834368 Platine sa104-a10 109
7823502 Poignee de securite 6,3 at 110
7440174 Vitotronic 200 kw6a 111
7841200 Fiche de codage 23f2:0102/23f2:02e1 112
7404365 Fusibles t 6,3 a / 250 v 113
7862299 Vitotronic 200 ho1b 114
7819977 Interrupteur regulation 115
7827856 Touche reset vitotronic 200 kw6 116
7837053 Sonde exterieure ntc 117
7834789 Extention interne sa100-b30 118
7834380 Contrefiche 119
7828158 Boitier module de cde avec raccordement 120
7834379 Sonde ecs ntc 10k 121
7834966 Mkp condensateur 3µf 150
7837661 Passage de cables 151
7827863 Tole avant vitoladens 200
7827864 Tole arriere vitoladens 201
7834497 Tole superieure avant 202
7827866 Tole superieure mediane 203
7827868 Tole superieure arriere 204
7834498 Tole laterale gauche 18/22kw 205
7834500 Tole laterale droite 18/22kw 206
7834502 Tole de recouvrement 207
7834503 Equerre de fixation 208
7827875 Matelas isolant avant 209
7827876 Matelas isolant 210
7827878 Matelas isolant tole arriere (inf+sup) 211
7827879 Matelas isolant vitoladens 300 212
7834492 Capot epp 213
7827881 Logo vitoladens 300-c 215
7819534 Bouchon orange 216
7827882 Matelas insonorisant 217
7834507 Corniere de fixation 18/22kw 218
7827885 Isolation depart chauffage 219
7827886 Isolant hr 220
7189884 Beipack accesoires isolation 221
7819545 Spray argent 250
7819546 Crayon pour retouches, vitoargent 251
7819535 Bande vitorange (1 rouleau = 10 m) 252
7824837 Joint viton d=80mm 300
7818138 Joint d=125 cote air chaud.condens. 301
7820974 Bouchons pour mesure 302
7817966 Ensemble de fermeture des ouvertures 303
7827891 Isolant petit collecteur 304
7819774 Manometre axial 0-4 bars 305
7815534 Purgeur automatique r 3/8 typ 62 306
7812359 Reduction pour montage du purgeur 1/2 307
7316262 Soupape de securite 3 bars 308
7812358 Mamelon double g 1/2¨ male 309
7816054 Ecrou r 1 1/2 310
7816154 Joint 32 x 43 x 2 mm 311
7816073 Piece a visser 1 x r1 1/2 312
7822353 Robinet de purge d air g 3/8 313
5581657 Bed.anl. vitotronic 200 kw6a 400
5457181 Mont.anl. vitoladens 300-c bc3 401
5681856 Serv.anl. vitoladens 300-c bc3 402
5851548 Instructions montage module lon 403
7839391 Cable 3 poles moteur bruleur fioul 404


Les images des vues éclatées peuvent contenir des prix datant de plusieurs années, merci de ne pas en tenir compte










Pièces détachées contenues dans cet appareil Chaudière Viessmann VITOLADENS 300 C BC3 12-18KW (7439973)



Photo Position vue éclatée Article Référence fabricant Disponibilité et prix  
Tube flamme 1,0 bc3 18/27kw (sav) Viessmann 7836723
Tube flamme 1,0 bc3 18/27kw (sav)
Code article PEX: 300117
Viessmann
Réf fabricant: 7836723
en stock
205,20 € TTC
Transformateur d allumage 230v 50/60hz Viessmann 7855288
Transformateur d allumage 230v 50/60hz
Code article PEX: 316045
Viessmann
Réf fabricant: 7855288
en stock
156,00 € TTC
Moteur pompe fioul 50 watt Viessmann 7836331
Moteur pompe fioul 50 watt
Code article PEX: 299998
Viessmann
Réf fabricant: 7836331
± 3 jours ouvrés
244,80 € TTC
Pompe fioul ate2v 45c 9355 6p 07 00 Viessmann 7840266
Pompe fioul ate2v 45c 9355 6p 07 00
Code article PEX: 301005
Viessmann
Réf fabricant: 7840266
en stock
367,20 € TTC
Prechauffeur de fioul fphe-le 1 x ptc50 Viessmann 7839917
Prechauffeur de fioul fphe-le 1 x ptc50
Code article PEX: 300915
Viessmann
Réf fabricant: 7839917
en stock
212,40 € TTC
Gicleur 0,40 gph 80° h le danfoss Viessmann 7816297
Gicleur 0,40 gph 80° h le danfoss
Code article PEX: 245750
Viessmann
Réf fabricant: 7816297
en stock
56,40 € TTC
Ventilateur radial vcs0134 xshcz Viessmann 7874274
Ventilateur radial vcs0134 xshcz
Code article PEX: 618265
Viessmann
Réf fabricant: 7874274
en stock
492,00 € TTC
Pressostat dl5eg-1p32z Viessmann 7823386
Pressostat dl5eg-1p32z
Code article PEX: 249269
Viessmann
Réf fabricant: 7823386
en stock
128,40 € TTC
Jeu de joints pour ventilateur radial Viessmann 7836509
Jeu de joints pour ventilateur radial
Code article PEX: 300053
Viessmann
Réf fabricant: 7836509
± 3 jours ouvrés
27,60 € TTC
Bloc d'électrodes d'allumage (7508848) Viessmann 7839971
Bloc d'électrodes d'allumage (7508848)
Code article PEX: 267682
Viessmann
Réf fabricant: 7839971
en stock
55,20 € TTC
Etriers et vis Viessmann 7834493
Etriers et vis
Code article PEX: 299480
Viessmann
Réf fabricant: 7834493
± 3 jours ouvrés
16,44 € TTC
Rondelles d epais. isolant avant foyer Viessmann 7834511
Rondelles d epais. isolant avant foyer
Code article PEX: 253399
Viessmann
Réf fabricant: 7834511
± 3 jours ouvrés
30,00 € TTC
Bloc isolant Viessmann 7827956
Bloc isolant
Code article PEX: 251364
Viessmann
Réf fabricant: 7827956
en stock
147,60 € TTC
Systeme de melange 1,5mm 12/18kw Viessmann 7855087
Systeme de melange 1,5mm 12/18kw
Code article PEX: 315966
Viessmann
Réf fabricant: 7855087
± 3 jours ouvrés
136,80 € TTC
Flexible fioul Viessmann 7834372
Flexible fioul
Code article PEX: 752092
Viessmann
Réf fabricant: 7834372
± 3 jours ouvrés
40,80 € TTC
Kit cable d allumage Viessmann 7827952
Kit cable d allumage
Code article PEX: 251361
Viessmann
Réf fabricant: 7827952
en stock
39,60 € TTC
Viessmann : set olschlauche vor-/rucklau Viessmann 7875229
Viessmann : set olschlauche vor-/rucklau
Code article PEX: 662956
Viessmann
Réf fabricant: 7875229
En cours de réappro
42,00 € TTC
Bobine t80 pour electrovanne ( suntec ) Viessmann 7838979
Bobine t80 pour electrovanne ( suntec )
Code article PEX: 300644
Viessmann
Réf fabricant: 7838979
En cours de réappro
79,20 € TTC
Accouplement vek jusqu a 63 kw Viessmann 7836850
Accouplement vek jusqu a 63 kw
Code article PEX: 300204
Viessmann
Réf fabricant: 7836850
en stock
14,76 € TTC
Kit pieces pour pompe fioul suntec Viessmann 7817919
Kit pieces pour pompe fioul suntec
Code article PEX: 246597
Viessmann
Réf fabricant: 7817919
en stock
39,60 € TTC
Joint torique , porte de chaudiere Viessmann 7827908
Joint torique , porte de chaudiere
Code article PEX: 251330
Viessmann
Réf fabricant: 7827908
± 3 jours ouvrés
48,00 € TTC
Amortisseur de son Viessmann 7827909
Amortisseur de son
Code article PEX: 251331
Viessmann
Réf fabricant: 7827909
± 3 jours ouvrés
458,40 € TTC
Canal d arrivee d air Viessmann 7827910
Canal d arrivee d air
Code article PEX: 251332
Viessmann
Réf fabricant: 7827910
± 3 jours ouvrés
70,80 € TTC
Bocal de filtre magnum Viessmann 7818909
Bocal de filtre magnum
Code article PEX: 247111
Viessmann
Réf fabricant: 7818909
± 3 jours ouvrés
62,40 € TTC
Filtre de rechange microtec mc-18 5um Viessmann 7823411
Filtre de rechange microtec mc-18 5um
Code article PEX: 752191
Viessmann
Réf fabricant: 7823411
± 3 jours ouvrés
45,60 € TTC
Tige de charniere gr.1 Viessmann 7819223
Tige de charniere gr.1
Code article PEX: 247299
Viessmann
Réf fabricant: 7819223
± 3 jours ouvrés
8,28 € TTC
Joint couvercle+torique+passage de cable Viessmann 7834467
Joint couvercle+torique+passage de cable
Code article PEX: 253387
Viessmann
Réf fabricant: 7834467
± 3 jours ouvrés
26,40 € TTC
Piece pour bruleur Viessmann 7318979
Piece pour bruleur
Code article PEX: 242323
Viessmann
Réf fabricant: 7318979
± 3 jours ouvrés
153,60 € TTC
Capot dispositif de melange avec joints Viessmann 7834469
Capot dispositif de melange avec joints
Code article PEX: 299479
Viessmann
Réf fabricant: 7834469
± 3 jours ouvrés
100,80 € TTC
Porte 22/27kw Viessmann 7827915
Porte 22/27kw
Code article PEX: 251336
Viessmann
Réf fabricant: 7827915
± 3 jours ouvrés
520,80 € TTC
Siphon complet Viessmann 7485921
Siphon complet
Code article PEX: 297339
Viessmann
Réf fabricant: 7485921
± 3 jours ouvrés
62,40 € TTC
Tube de condensats Viessmann 7827917
Tube de condensats
Code article PEX: 251337
Viessmann
Réf fabricant: 7827917
± 3 jours ouvrés
26,40 € TTC
Manchons passage manchette raccord. Viessmann 7825349
Manchons passage manchette raccord.
Code article PEX: 250218
Viessmann
Réf fabricant: 7825349
± 3 jours ouvrés
48,00 € TTC
Brosse d=120 x 100 - m10 Viessmann 7827911
Brosse d=120 x 100 - m10
Code article PEX: 251333
Viessmann
Réf fabricant: 7827911
± 3 jours ouvrés
36,00 € TTC
Manche pour brosse m10 Viessmann 7815076
Manche pour brosse m10
Code article PEX: 245268
Viessmann
Réf fabricant: 7815076
± 3 jours ouvrés
21,84 € TTC
Interrupteur thermique Viessmann 7825490
Interrupteur thermique
Code article PEX: 250282
Viessmann
Réf fabricant: 7825490
en stock
38,40 € TTC
Sonde chaudiere Viessmann 7819967
Sonde chaudiere
Code article PEX: 247809
Viessmann
Réf fabricant: 7819967
en stock
62,40 € TTC
Sonde de temperature de fumees Viessmann 7825395
Sonde de temperature de fumees
Code article PEX: 250224
Viessmann
Réf fabricant: 7825395
± 3 jours ouvrés
50,40 € TTC
Coude filete Viessmann 7815481
Coude filete
Code article PEX: 245439
Viessmann
Réf fabricant: 7815481
± 3 jours ouvrés
51,60 € TTC
Sachet ressort et rondelle Viessmann 7834468
Sachet ressort et rondelle
Code article PEX: 253388
Viessmann
Réf fabricant: 7834468
± 3 jours ouvrés
10,68 € TTC
Pate thermoconductrice p12 Viessmann 7819193
Pate thermoconductrice p12
Code article PEX: 247280
Viessmann
Réf fabricant: 7819193
± 3 jours ouvrés
9,48 € TTC
Graisse pour joint (6g) Viessmann 7819602
Graisse pour joint (6g)
Code article PEX: 247538
Viessmann
Réf fabricant: 7819602
± 3 jours ouvrés
5,64 € TTC
Clips pour tube d=28 Viessmann 7827918
Clips pour tube d=28
Code article PEX: 251338
Viessmann
Réf fabricant: 7827918
± 3 jours ouvrés
22,80 € TTC
Manchon passage dn80 Viessmann 7827923
Manchon passage dn80
Code article PEX: 251340
Viessmann
Réf fabricant: 7827923
± 3 jours ouvrés
14,76 € TTC
Ensemble d entretien neutrabox Viessmann 7838109
Ensemble d entretien neutrabox
Code article PEX: 300425
Viessmann
Réf fabricant: 7838109
± 3 jours ouvrés
193,20 € TTC
Kit d entretien filtre a charbon actif Viessmann 7838110
Kit d entretien filtre a charbon actif
Code article PEX: 253999
Viessmann
Réf fabricant: 7838110
± 3 jours ouvrés
130,80 € TTC
49 page 6 Kit échange filtre à fioul mc-18 pour floco-top-k
 
Viessmann
Réf fabricant: 7823410
avec délai
sur devis
Collier de flexible Viessmann 7823926
Collier de flexible
Code article PEX: 249599
Viessmann
Réf fabricant: 7823926
± 3 jours ouvrés
36,00 € TTC
Adaptateur tube arrivee d air Viessmann 7823928
Adaptateur tube arrivee d air
Code article PEX: 249601
Viessmann
Réf fabricant: 7823928
± 3 jours ouvrés
26,40 € TTC
Vanne a bille r 1/2 avec poignee Viessmann 7814863
Vanne a bille r 1/2 avec poignee
Code article PEX: 475743
Viessmann
Réf fabricant: 7814863
en stock
26,40 € TTC
Fiche a ressort clips de blocage sonde Viessmann 7836297
Fiche a ressort clips de blocage sonde
Code article PEX: 267691
Viessmann
Réf fabricant: 7836297
en stock
7,56 € TTC
Evacuation des condensats Viessmann 7827922
Evacuation des condensats
Code article PEX: 251339
Viessmann
Réf fabricant: 7827922
± 3 jours ouvrés
51,60 € TTC
Surete pour fiches Viessmann 7819879
Surete pour fiches
Code article PEX: 247742
Viessmann
Réf fabricant: 7819879
± 3 jours ouvrés
15,24 € TTC
Tube 19 x 600 torsade Viessmann 7827981
Tube 19 x 600 torsade
Code article PEX: 251372
Viessmann
Réf fabricant: 7827981
± 3 jours ouvrés
13,80 € TTC
Clip de sonde Viessmann 7828055
Clip de sonde
Code article PEX: 251424
Viessmann
Réf fabricant: 7828055
 
obsolète
 
Tube coude Viessmann 7828424
Tube coude
Code article PEX: 251551
Viessmann
Réf fabricant: 7828424
± 3 jours ouvrés
17,64 € TTC
Pot de combustion 22/27 kw Viessmann 7834509
Pot de combustion 22/27 kw
Code article PEX: 253397
Viessmann
Réf fabricant: 7834509
± 3 jours ouvrés
285,60 € TTC
Accessoires support (4 pcs) Viessmann 7834504
Accessoires support (4 pcs)
Code article PEX: 299481
Viessmann
Réf fabricant: 7834504
± 3 jours ouvrés
56,40 € TTC
Bornier alim bruleur fiche201 vitoladens Viessmann 7827894
Bornier alim bruleur fiche201 vitoladens
Code article PEX: 251317
Viessmann
Réf fabricant: 7827894
± 3 jours ouvrés
88,80 € TTC
Joint 64 x 92 x 15 Viessmann 7874440
Joint 64 x 92 x 15
Code article PEX: 717970
Viessmann
Réf fabricant: 7874440
± 3 jours ouvrés
26,40 € TTC
Noyau electrovanne Viessmann 7815738
Noyau electrovanne
Code article PEX: 245557
Viessmann
Réf fabricant: 7815738
± 3 jours ouvrés
116,40 € TTC
Siphon Viessmann 7837608
Siphon
Code article PEX: 253971
Viessmann
Réf fabricant: 7837608
± 3 jours ouvrés
31,20 € TTC
Joint plat Viessmann 7837610
Joint plat
Code article PEX: 253973
Viessmann
Réf fabricant: 7837610
± 3 jours ouvrés
17,76 € TTC
68 page 9 Tôle de fixation siphon
 
Viessmann
Réf fabricant: 7487583
avec délai
sur devis
Joints toriques 28,24 x 2,62 Viessmann 7855722
Joints toriques 28,24 x 2,62
Code article PEX: 476881
Viessmann
Réf fabricant: 7855722
± 3 jours ouvrés
15,24 € TTC
Kit d entretien bc3 12/18 Viessmann 7870573
Kit d entretien bc3 12/18
Code article PEX: 477518
Viessmann
Réf fabricant: 7870573
± 3 jours ouvrés
130,80 € TTC
Regulation vbc141-c00.002 Viessmann 7862231
Regulation vbc141-c00.002
Code article PEX: 316230
Viessmann
Réf fabricant: 7862231
en stock
957,60 € TTC
Jeu de parties laterales regulation Viessmann 7834365
Jeu de parties laterales regulation
Code article PEX: 299461
Viessmann
Réf fabricant: 7834365
± 3 jours ouvrés
72,00 € TTC
Diverse kleinteile f sse schrauben t ll Viessmann 7830834
Diverse kleinteile f sse schrauben t ll
Code article PEX: 252220
Viessmann
Réf fabricant: 7830834
 
obsolète
 
Partie laterale avec guide cable Viessmann 7830830
Partie laterale avec guide cable
Code article PEX: 252218
Viessmann
Réf fabricant: 7830830
± 3 jours ouvrés
86,40 € TTC
Partie avant et laterale regulation Viessmann 7834366
Partie avant et laterale regulation
Code article PEX: 253348
Viessmann
Réf fabricant: 7834366
± 3 jours ouvrés
70,80 € TTC
Faisceau de cables x8/x9 Viessmann 7827893
Faisceau de cables x8/x9
Code article PEX: 251316
Viessmann
Réf fabricant: 7827893
± 3 jours ouvrés
62,40 € TTC
Cable raccordement transfo allumage 54 Viessmann 7827895
Cable raccordement transfo allumage 54
Code article PEX: 251318
Viessmann
Réf fabricant: 7827895
± 3 jours ouvrés
36,00 € TTC
Conduite de racc. prechauff. fioul 121 Viessmann 7834149
Conduite de racc. prechauff. fioul 121
Code article PEX: 299430
Viessmann
Réf fabricant: 7834149
± 3 jours ouvrés
40,80 € TTC
Conduite surveillance de flamme 124 Viessmann 7827897
Conduite surveillance de flamme 124
Code article PEX: 251320
Viessmann
Réf fabricant: 7827897
± 3 jours ouvrés
51,60 € TTC
Platine sa104-a10 Viessmann 7834368
Platine sa104-a10
Code article PEX: 253350
Viessmann
Réf fabricant: 7834368
± 3 jours ouvrés
244,80 € TTC
Poignee de securite 6,3 at Viessmann 7823502
Poignee de securite 6,3 at
Code article PEX: 249333
Viessmann
Réf fabricant: 7823502
± 3 jours ouvrés
8,88 € TTC
111 page 5 Vitotronic 200 kw6a
 
Viessmann
Réf fabricant: 7440174
avec délai
sur devis
Fiche de codage 23f2:0102/23f2:02e1 Viessmann 7841200
Fiche de codage 23f2:0102/23f2:02e1
Code article PEX: 301243
Viessmann
Réf fabricant: 7841200
± 3 jours ouvrés
67,20 € TTC
Fusibles t 6,3 a / 250 v Viessmann 7404365
Fusibles t 6,3 a / 250 v
Code article PEX: 243455
Viessmann
Réf fabricant: 7404365
en stock
8,40 € TTC
Vitotronic 200 ho1b Viessmann 7862299
Vitotronic 200 ho1b
Code article PEX: 300357
Viessmann
Réf fabricant: 7862299
en stock
523,20 € TTC
Interrupteur 2 poles Viessmann 7819977
Interrupteur 2 poles
Code article PEX: 247359
Viessmann
Réf fabricant: 7819977
± 3 jours ouvrés
15,72 € TTC
Touche reset vitotronic 200 kw6 Viessmann 7827856
Touche reset vitotronic 200 kw6
Code article PEX: 251288
Viessmann
Réf fabricant: 7827856
± 3 jours ouvrés
26,40 € TTC
Sonde exterieure ntc Viessmann 7837053
Sonde exterieure ntc
Code article PEX: 253845
Viessmann
Réf fabricant: 7837053
en stock
176,40 € TTC
Extention interne sa100-b30 Viessmann 7834789
Extention interne sa100-b30
Code article PEX: 253515
Viessmann
Réf fabricant: 7834789
± 3 jours ouvrés
154,80 € TTC
Contrefiche Viessmann 7834380
Contrefiche
Code article PEX: 253358
Viessmann
Réf fabricant: 7834380
± 3 jours ouvrés
51,60 € TTC
Boitier module de cde avec raccordement Viessmann 7828158
Boitier module de cde avec raccordement
Code article PEX: 251464
Viessmann
Réf fabricant: 7828158
± 3 jours ouvrés
147,60 € TTC
Sonde ecs ntc 10k Viessmann 7834379
Sonde ecs ntc 10k
Code article PEX: 253357
Viessmann
Réf fabricant: 7834379
En cours de réappro
100,80 € TTC
Mkp condensateur 3µf Viessmann 7834966
Mkp condensateur 3µf
Code article PEX: 253557
Viessmann
Réf fabricant: 7834966
± 3 jours ouvrés
26,40 € TTC
Passage de cables Viessmann 7837661
Passage de cables
Code article PEX: 253983
Viessmann
Réf fabricant: 7837661
en stock
18,24 € TTC
Tole avant vitoladens Viessmann 7827863
Tole avant vitoladens
Code article PEX: 251291
Viessmann
Réf fabricant: 7827863
 
obsolète
 
Tole arriere vitoladens Viessmann 7827864
Tole arriere vitoladens
Code article PEX: 251292
Viessmann
Réf fabricant: 7827864
± 3 jours ouvrés
181,20 € TTC
Tole superieure avant Viessmann 7834497
Tole superieure avant
Code article PEX: 253390
Viessmann
Réf fabricant: 7834497
± 3 jours ouvrés
228,00 € TTC
Tole superieure mediane Viessmann 7827866
Tole superieure mediane
Code article PEX: 251295
Viessmann
Réf fabricant: 7827866
± 3 jours ouvrés
136,80 € TTC
Tole superieure arriere Viessmann 7827868
Tole superieure arriere
Code article PEX: 251297
Viessmann
Réf fabricant: 7827868
± 3 jours ouvrés
378,00 € TTC
Tole laterale gauche 18/22kw Viessmann 7834498
Tole laterale gauche 18/22kw
Code article PEX: 253391
Viessmann
Réf fabricant: 7834498
± 3 jours ouvrés
186,00 € TTC
Tole laterale droite 18/22kw Viessmann 7834500
Tole laterale droite 18/22kw
Code article PEX: 253393
Viessmann
Réf fabricant: 7834500
± 3 jours ouvrés
186,00 € TTC
Tole de recouvrement Viessmann 7834502
Tole de recouvrement
Code article PEX: 253395
Viessmann
Réf fabricant: 7834502
± 3 jours ouvrés
156,00 € TTC
Equerre de fixation Viessmann 7834503
Equerre de fixation
Code article PEX: 253396
Viessmann
Réf fabricant: 7834503
± 3 jours ouvrés
121,20 € TTC
Matelas isolant avant Viessmann 7827875
Matelas isolant avant
Code article PEX: 251305
Viessmann
Réf fabricant: 7827875
± 3 jours ouvrés
27,60 € TTC
Matelas isolant Viessmann 7827876
Matelas isolant
Code article PEX: 251306
Viessmann
Réf fabricant: 7827876
± 3 jours ouvrés
70,80 € TTC
Matelas isolant tole arriere (inf+sup) Viessmann 7827878
Matelas isolant tole arriere (inf+sup)
Code article PEX: 314921
Viessmann
Réf fabricant: 7827878
± 3 jours ouvrés
88,80 € TTC
Matelas isolant vitoladens 300 Viessmann 7827879
Matelas isolant vitoladens 300
Code article PEX: 251307
Viessmann
Réf fabricant: 7827879
± 3 jours ouvrés
38,40 € TTC
Capot epp Viessmann 7834492
Capot epp
Code article PEX: 253389
Viessmann
Réf fabricant: 7834492
± 3 jours ouvrés
70,80 € TTC
Logo vitoladens 300-c Viessmann 7827881
Logo vitoladens 300-c
Code article PEX: 251308
Viessmann
Réf fabricant: 7827881
± 3 jours ouvrés
26,40 € TTC
Bouchon orange Viessmann 7819534
Bouchon orange
Code article PEX: 247494
Viessmann
Réf fabricant: 7819534
± 3 jours ouvrés
9,48 € TTC
Matelas insonorisant Viessmann 7827882
Matelas insonorisant
Code article PEX: 251309
Viessmann
Réf fabricant: 7827882
± 3 jours ouvrés
80,40 € TTC
Corniere de fixation 18/22kw Viessmann 7834507
Corniere de fixation 18/22kw
Code article PEX: 299482
Viessmann
Réf fabricant: 7834507
± 3 jours ouvrés
55,20 € TTC
Isolation depart chauffage Viessmann 7827885
Isolation depart chauffage
Code article PEX: 251311
Viessmann
Réf fabricant: 7827885
± 3 jours ouvrés
70,80 € TTC
Isolant hr Viessmann 7827886
Isolant hr
Code article PEX: 251312
Viessmann
Réf fabricant: 7827886
± 3 jours ouvrés
62,40 € TTC
Beipack accesoires isolation Viessmann 7189884
Beipack accesoires isolation
Code article PEX: 240748
Viessmann
Réf fabricant: 7189884
 
obsolète
 
Spray argent Viessmann 7819545
Spray argent
Code article PEX: 247502
Viessmann
Réf fabricant: 7819545
± 3 jours ouvrés
40,80 € TTC
Crayon pour retouches, vitoargent Viessmann 7819546
Crayon pour retouches, vitoargent
Code article PEX: 297920
Viessmann
Réf fabricant: 7819546
± 3 jours ouvrés
15,72 € TTC
Bande vitorange (1 rouleau = 10 m) Viessmann 7819535
Bande vitorange (1 rouleau = 10 m)
Code article PEX: 247495
Viessmann
Réf fabricant: 7819535
± 3 jours ouvrés
17,28 € TTC
Joint viton d=80mm Viessmann 7824837
Joint viton d=80mm
Code article PEX: 249992
Viessmann
Réf fabricant: 7824837
en stock
18,24 € TTC
Joint d=125 cote air chaud.condens. Viessmann 7818138
Joint d=125 cote air chaud.condens.
Code article PEX: 246756
Viessmann
Réf fabricant: 7818138
en stock
18,24 € TTC
Bouchons pour mesure Viessmann 7820974
Bouchons pour mesure
Code article PEX: 248345
Viessmann
Réf fabricant: 7820974
± 3 jours ouvrés
40,80 € TTC
Ensemble de fermeture des ouvertures Viessmann 7817966
Ensemble de fermeture des ouvertures
Code article PEX: 246634
Viessmann
Réf fabricant: 7817966
± 3 jours ouvrés
27,60 € TTC
Isolant petit collecteur Viessmann 7827891
Isolant petit collecteur
Code article PEX: 251314
Viessmann
Réf fabricant: 7827891
± 3 jours ouvrés
68,40 € TTC
Manometre axial 0-4 bars Viessmann 7819774
Manometre axial 0-4 bars
Code article PEX: 247662
Viessmann
Réf fabricant: 7819774
± 3 jours ouvrés
32,40 € TTC
Purgeur automatique r 3/8 typ 62 Viessmann 7815534
Purgeur automatique r 3/8 typ 62
Code article PEX: 245471
Viessmann
Réf fabricant: 7815534
± 3 jours ouvrés
24,00 € TTC
Reduction pour montage du purgeur 1/2 Viessmann 7812359
Reduction pour montage du purgeur 1/2
Code article PEX: 244536
Viessmann
Réf fabricant: 7812359
± 3 jours ouvrés
30,00 € TTC
Soupape de securite 3 bars Viessmann 7316262
Soupape de securite 3 bars
Code article PEX: 297293
Viessmann
Réf fabricant: 7316262
en stock
34,80 € TTC
Mamelon double g 1/2¨ male Viessmann 7812358
Mamelon double g 1/2¨ male
Code article PEX: 244535
Viessmann
Réf fabricant: 7812358
± 3 jours ouvrés
17,28 € TTC
Ecrou r 1 1/2 Viessmann 7816054
Ecrou r 1 1/2
Code article PEX: 245675
Viessmann
Réf fabricant: 7816054
± 3 jours ouvrés
9,48 € TTC
Joint 32 x 43 x 2 mm Viessmann 7816154
Joint 32 x 43 x 2 mm
Code article PEX: 245709
Viessmann
Réf fabricant: 7816154
 
obsolète
 
Piece a visser 1 x r1 1/2 Viessmann 7816073
Piece a visser 1 x r1 1/2
Code article PEX: 245683
Viessmann
Réf fabricant: 7816073
± 3 jours ouvrés
9,48 € TTC
Robinet de purge d air g 3/8 Viessmann 7822353
Robinet de purge d air g 3/8
Code article PEX: 248567
Viessmann
Réf fabricant: 7822353
en stock
12,72 € TTC
400 page 7 Bed.anl. vitotronic 200 kw6a
 
Viessmann
Réf fabricant: 5581657
avec délai
sur devis
401 page 9 Mont.anl. vitoladens 300-c bc3
 
Viessmann
Réf fabricant: 5457181
avec délai
sur devis
402 page 7 Serv.anl. vitoladens 300-c bc3
 
Viessmann
Réf fabricant: 5681856
avec délai
sur devis
403 page 9 Instructions montage module lon
 
Viessmann
Réf fabricant: 5851548
avec délai
sur devis
Cable 3 poles moteur bruleur fioul Viessmann 7839391
Cable 3 poles moteur bruleur fioul
Code article PEX: 315306
Viessmann
Réf fabricant: 7839391
± 3 jours ouvrés
48,00 € TTC


Dans cette page vous trouverez l'ensemble des articles et pièces détachées de chaufferie qui composent la nomenclature Chaudière Viessmann VITOLADENS 300 C BC3 12-18KW (7439973) ainsi que des liens vers les articles Viessmann. En parcourant la page Viessmann, vous pourrez également trouver toutes les pièces Viessmann présentes chez Pièces Express. L'indication de stock vous permet de savoir si la pièce détachée est disponible dans notre stock central ou bien avec un délai fournisseur. Dans ce dernier cas, renseignez vous, nous commandons très régulièrement chez chacun de nos fournisseurs, nous pouvons donc certainement répondre à votre besoin rapidement.

Nos marques
Nos catalogues
Nos outils
Nos gicleurs fioul
Nos bougies pour poêles à pellets
Pièces détachées de chauffage et climatisation
PIÈCES EXPRESS
1 rue Philippe LEBON
ZA Henri Spriet
14120 MONDEVILLE
Téléphone: 02 14 47 16 10
Siret: 790 553 242 00013
Tva: FR 38 790553242