Pièces détachées de chauffage et climatisation
Plus de 650 000 références fabricants disponibles
Livraison en France et en Belgique
MARQUES ▾
CATALOGUES ▾
VUES ÉCLATÉES ▾ CODES DÉFAUTS ▾
OUTILS DE RECHERCHE ▾
FAQ / TUTOS
DÉSTOCKAGE
>
VOTRE RECHERCHE

Chaudière Viessmann VITOPLEX 100 PV1 950KW (7192486)



page 3
page 4
Pièces détachées Chaudière Viessmann VITOPLEX 100 PV1 950KW (7192486) chez Pièces Express


Référence fabricant
Position Schéma
7825936 Kesseltur 780/950kw 1
7815148 Axe b12 h11 x 110 2
7324709 Pochette verre de viseur 3
7810029 Tube plastique 800 mm 4
7820050 Bague viseur de flamme 5
7811837 Verre de regard avec joints 6
7814728 Joint a 35 x 45 x 2 7
7816212 Manchon pour flexible 1/4 8
7822385 Joint cerame rond d 18 l=4000 9
7825959 Bloc isolant 780/950kw 10
7823934 Matelas isolant d=350 11
7820374 Joint cerame 25 x 15 l=4 000 13
7825942 Turbulateur 14
7815442 Joint 100 pn 6 15
7810442 Ausputzdeckel a3 16
7818338 Packung gf 10 x 10 l=700 17
7812522 Doigt de gant 18
7816074 Brosse de nettoyage 44x101 mm 19
7815076 Manche pour brosse m10 20
7811494 Rallonge tige de brosse 1000 mm 21
7825939 Tire turbulateur 22
7184926 Plaque porte-brûleur non percée 23
7826993 Joint 370 x 450 x 5 24
7815437 Joint dn50 25
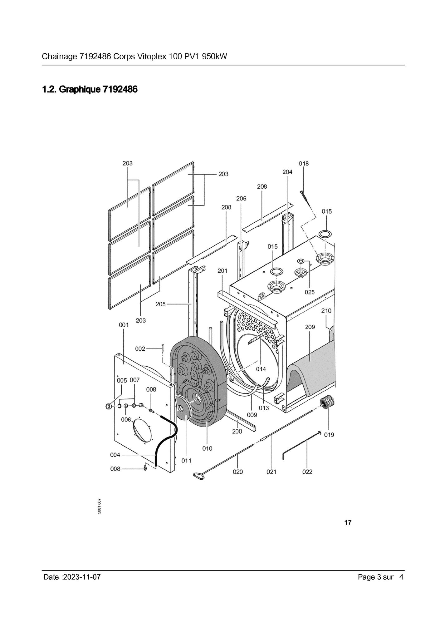
7825730 Tole avant inferieure vitoplex 200
7825733 Tole avant-arriere superieure vitoplex 201
7825737 Seitenblech regelung 202
7825743 Tole laterale 203
7825748 Rail avant droit arriere gauche 204
7825751 Rail avant gauche arriere droit 205
7825754 Corniere mediane 206
7825757 Tole arriere inferieure 207
7825761 Tole capot interne vitopend 100 208
7825767 Manteau isolant 209
7825776 Matelas isolant arriere vd2 211
7825779 Matelas isolant arriere gauche 212
7825782 Matelas isolant arriere droit 213
7816697 Console regulation 214
7816696 Console arriere 215
7816698 Fixation de cable 216
7825948 Chemin de cable fb 60 x 150 couvercle 217
7825954 Passage de cable fb 60 x 150 inferieur 218
7837266 Cache console 219
7839557 Schiene rechts vorn 220
7825729 Accessoires isolation 300
7819545 Spray argent 301
7819546 Crayon pour retouches, vitoargent 302
5851963 Mont.anl. vitoplex 100 pv1 ab 780kw 303
5681667 Serv.anl. vitoplex 100 pv1 ab 780kw 304
7159687 Pochette matelas de fiberfax 305
7841104 Logo viessmann nd18 306
7841095 Schriftzug vitoplex 100 307


Les images des vues éclatées peuvent contenir des prix datant de plusieurs années, merci de ne pas en tenir compte










Pièces détachées contenues dans cet appareil Chaudière Viessmann VITOPLEX 100 PV1 950KW (7192486)



Photo Position vue éclatée Article Référence fabricant Disponibilité et prix  
Kesseltur 780/950kw Viessmann 7825936
Kesseltur 780/950kw
Code article PEX: 366273
Viessmann
Réf fabricant: 7825936
 
obsolète
 
Axe b12 h11 x 110 Viessmann 7815148
Axe b12 h11 x 110
Code article PEX: 245284
Viessmann
Réf fabricant: 7815148
± 3 jours ouvrés
11,76 € TTC
Pochette verre de viseur Viessmann 7324709
Pochette verre de viseur
Code article PEX: 242446
Viessmann
Réf fabricant: 7324709
± 3 jours ouvrés
88,80 € TTC
Tube plastique 800 mm Viessmann 7810029
Tube plastique 800 mm
Code article PEX: 243716
Viessmann
Réf fabricant: 7810029
± 3 jours ouvrés
8,28 € TTC
Bague viseur de flamme Viessmann 7820050
Bague viseur de flamme
Code article PEX: 247855
Viessmann
Réf fabricant: 7820050
± 3 jours ouvrés
39,60 € TTC
Verre de regard avec joints Viessmann 7811837
Verre de regard avec joints
Code article PEX: 244325
Viessmann
Réf fabricant: 7811837
± 3 jours ouvrés
17,64 € TTC
Joint a 35 x 45 x 2 Viessmann 7814728
Joint a 35 x 45 x 2
Code article PEX: 245185
Viessmann
Réf fabricant: 7814728
± 3 jours ouvrés
6,24 € TTC
Manchon pour flexible 1/4 Viessmann 7816212
Manchon pour flexible 1/4
Code article PEX: 245726
Viessmann
Réf fabricant: 7816212
± 3 jours ouvrés
8,88 € TTC
Joint cerame rond d 18 l=4000 Viessmann 7822385
Joint cerame rond d 18 l=4000
Code article PEX: 248593
Viessmann
Réf fabricant: 7822385
± 3 jours ouvrés
153,60 € TTC
Bloc isolant 780/950kw Viessmann 7825959
Bloc isolant 780/950kw
Code article PEX: 250482
Viessmann
Réf fabricant: 7825959
± 3 jours ouvrés
1 474,80 € TTC
Matelas isolant d=350 Viessmann 7823934
Matelas isolant d=350
Code article PEX: 249606
Viessmann
Réf fabricant: 7823934
± 3 jours ouvrés
62,40 € TTC
Joint cerame 25 x 15 l=4 000 Viessmann 7820374
Joint cerame 25 x 15 l=4 000
Code article PEX: 248027
Viessmann
Réf fabricant: 7820374
 
obsolète
 
Turbulateur Viessmann 7825942
Turbulateur
Code article PEX: 298517
Viessmann
Réf fabricant: 7825942
 
obsolète
 
Joint 100 pn 6 Viessmann 7815442
Joint 100 pn 6
Code article PEX: 245423
Viessmann
Réf fabricant: 7815442
± 3 jours ouvrés
13,80 € TTC
16 page 3 Ausputzdeckel a3
 
Viessmann
Réf fabricant: 7810442
avec délai
sur devis
Packung gf 10 x 10 l=700 Viessmann 7818338
Packung gf 10 x 10 l=700
Code article PEX: 297867
Viessmann
Réf fabricant: 7818338
 
obsolète
 
Doigt de gant Viessmann 7812522
Doigt de gant
Code article PEX: 244596
Viessmann
Réf fabricant: 7812522
± 3 jours ouvrés
90,00 € TTC
Brosse de nettoyage 44x101 mm Viessmann 7816074
Brosse de nettoyage 44x101 mm
Code article PEX: 245684
Viessmann
Réf fabricant: 7816074
± 3 jours ouvrés
30,00 € TTC
Manche pour brosse m10 Viessmann 7815076
Manche pour brosse m10
Code article PEX: 245268
Viessmann
Réf fabricant: 7815076
± 3 jours ouvrés
21,84 € TTC
Rallonge tige de brosse 1000 mm Viessmann 7811494
Rallonge tige de brosse 1000 mm
Code article PEX: 244192
Viessmann
Réf fabricant: 7811494
± 3 jours ouvrés
32,40 € TTC
Tire turbulateur Viessmann 7825939
Tire turbulateur
Code article PEX: 250479
Viessmann
Réf fabricant: 7825939
± 3 jours ouvrés
22,80 € TTC
23 page 4 Plaque porte-brûleur non percée
 
Viessmann
Réf fabricant: 7184926
avec délai
sur devis
Joint 370 x 450 x 5 Viessmann 7826993
Joint 370 x 450 x 5
Code article PEX: 250975
Viessmann
Réf fabricant: 7826993
± 3 jours ouvrés
86,40 € TTC
Joint dn50 Viessmann 7815437
Joint dn50
Code article PEX: 245418
Viessmann
Réf fabricant: 7815437
± 3 jours ouvrés
15,24 € TTC
Tole avant inferieure vitoplex Viessmann 7825730
Tole avant inferieure vitoplex
Code article PEX: 250421
Viessmann
Réf fabricant: 7825730
± 3 jours ouvrés
104,40 € TTC
Tole avant-arriere superieure vitoplex Viessmann 7825733
Tole avant-arriere superieure vitoplex
Code article PEX: 250424
Viessmann
Réf fabricant: 7825733
± 3 jours ouvrés
120,00 € TTC
Seitenblech regelung Viessmann 7825737
Seitenblech regelung
Code article PEX: 716808
Viessmann
Réf fabricant: 7825737
 
obsolète
 
Tole laterale Viessmann 7825743
Tole laterale
Code article PEX: 298486
Viessmann
Réf fabricant: 7825743
 
obsolète
 
Rail avant droit arriere gauche Viessmann 7825748
Rail avant droit arriere gauche
Code article PEX: 298490
Viessmann
Réf fabricant: 7825748
± 3 jours ouvrés
158,40 € TTC
Rail avant gauche arriere droit Viessmann 7825751
Rail avant gauche arriere droit
Code article PEX: 298492
Viessmann
Réf fabricant: 7825751
± 3 jours ouvrés
158,40 € TTC
Corniere mediane Viessmann 7825754
Corniere mediane
Code article PEX: 298494
Viessmann
Réf fabricant: 7825754
 
obsolète
 
Tole arriere inferieure Viessmann 7825757
Tole arriere inferieure
Code article PEX: 250426
Viessmann
Réf fabricant: 7825757
± 3 jours ouvrés
304,80 € TTC
Tole capot interne vitopend 100 Viessmann 7825761
Tole capot interne vitopend 100
Code article PEX: 298499
Viessmann
Réf fabricant: 7825761
 
obsolète
 
Manteau isolant Viessmann 7825767
Manteau isolant
Code article PEX: 298505
Viessmann
Réf fabricant: 7825767
 
obsolète
 
Matelas isolant arriere vd2 Viessmann 7825776
Matelas isolant arriere vd2
Code article PEX: 298510
Viessmann
Réf fabricant: 7825776
± 3 jours ouvrés
100,80 € TTC
Matelas isolant arriere gauche Viessmann 7825779
Matelas isolant arriere gauche
Code article PEX: 250427
Viessmann
Réf fabricant: 7825779
± 3 jours ouvrés
75,60 € TTC
Matelas isolant arriere droit Viessmann 7825782
Matelas isolant arriere droit
Code article PEX: 250428
Viessmann
Réf fabricant: 7825782
± 3 jours ouvrés
70,80 € TTC
Console regulation Viessmann 7816697
Console regulation
Code article PEX: 245945
Viessmann
Réf fabricant: 7816697
± 3 jours ouvrés
198,00 € TTC
Console arriere Viessmann 7816696
Console arriere
Code article PEX: 245944
Viessmann
Réf fabricant: 7816696
± 3 jours ouvrés
196,80 € TTC
Fixation de cable Viessmann 7816698
Fixation de cable
Code article PEX: 245946
Viessmann
Réf fabricant: 7816698
± 3 jours ouvrés
112,80 € TTC
Chemin de cable fb 60 x 150 couvercle Viessmann 7825948
Chemin de cable fb 60 x 150 couvercle
Code article PEX: 298519
Viessmann
Réf fabricant: 7825948
± 3 jours ouvrés
79,20 € TTC
Passage de cable fb 60 x 150 inferieur Viessmann 7825954
Passage de cable fb 60 x 150 inferieur
Code article PEX: 366277
Viessmann
Réf fabricant: 7825954
 
obsolète
 
Cache console Viessmann 7837266
Cache console
Code article PEX: 300290
Viessmann
Réf fabricant: 7837266
± 3 jours ouvrés
158,40 € TTC
220 page 4 Schiene rechts vorn
 
Viessmann
Réf fabricant: 7839557
avec délai
sur devis
Accessoires isolation Viessmann 7825729
Accessoires isolation
Code article PEX: 298482
Viessmann
Réf fabricant: 7825729
± 3 jours ouvrés
88,80 € TTC
Spray argent Viessmann 7819545
Spray argent
Code article PEX: 247502
Viessmann
Réf fabricant: 7819545
± 3 jours ouvrés
40,80 € TTC
Crayon pour retouches, vitoargent Viessmann 7819546
Crayon pour retouches, vitoargent
Code article PEX: 297920
Viessmann
Réf fabricant: 7819546
± 3 jours ouvrés
15,72 € TTC
303 page 4 Mont.anl. vitoplex 100 pv1 ab 780kw
 
Viessmann
Réf fabricant: 5851963
avec délai
sur devis
304 page 4 Serv.anl. vitoplex 100 pv1 ab 780kw
 
Viessmann
Réf fabricant: 5681667
avec délai
sur devis
Pochette matelas de fiberfax Viessmann 7159687
Pochette matelas de fiberfax
Code article PEX: 240691
Viessmann
Réf fabricant: 7159687
± 3 jours ouvrés
21,00 € TTC
Logo viessmann nd18 Viessmann 7841104
Logo viessmann nd18
Code article PEX: 301226
Viessmann
Réf fabricant: 7841104
± 3 jours ouvrés
36,00 € TTC
307 page 3 Schriftzug vitoplex 100
 
Viessmann
Réf fabricant: 7841095
avec délai
sur devis


Dans cette page vous trouverez l'ensemble des articles et pièces détachées de chaufferie qui composent la nomenclature Chaudière Viessmann VITOPLEX 100 PV1 950KW (7192486) ainsi que des liens vers les articles Viessmann. En parcourant la page Viessmann, vous pourrez également trouver toutes les pièces Viessmann présentes chez Pièces Express. L'indication de stock vous permet de savoir si la pièce détachée est disponible dans notre stock central ou bien avec un délai fournisseur. Dans ce dernier cas, renseignez vous, nous commandons très régulièrement chez chacun de nos fournisseurs, nous pouvons donc certainement répondre à votre besoin rapidement.

Nos marques
Nos catalogues
Nos outils
Nos gicleurs fioul
Nos bougies pour poêles à pellets
Pièces détachées de chauffage et climatisation
PIÈCES EXPRESS
1 rue Philippe LEBON
ZA Henri Spriet
14120 MONDEVILLE
Téléphone: 02 14 47 16 10
Siret: 790 553 242 00013
Tva: FR 38 790553242