Pièces détachées de chauffage et climatisation
Plus de 650 000 références fabricants disponibles
Livraison en France et en Belgique
MARQUES ▾
CATALOGUES ▾
VUES ÉCLATÉES ▾ CODES DÉFAUTS ▾
OUTILS DE RECHERCHE ▾
FAQ / TUTOS
DÉSTOCKAGE
>
VOTRE RECHERCHE

Chaudière Ariston MICROGENUS 23 MFFI BP (F) (1999-2001) Ref 535207



page 2
page 4
page 6
page 8
page 10
Pièces détachées Chaudière Ariston MICROGENUS 23 MFFI BP (F) (1999-2001) Ref 535207 chez Pièces Express


Référence fabricant
Position Schéma
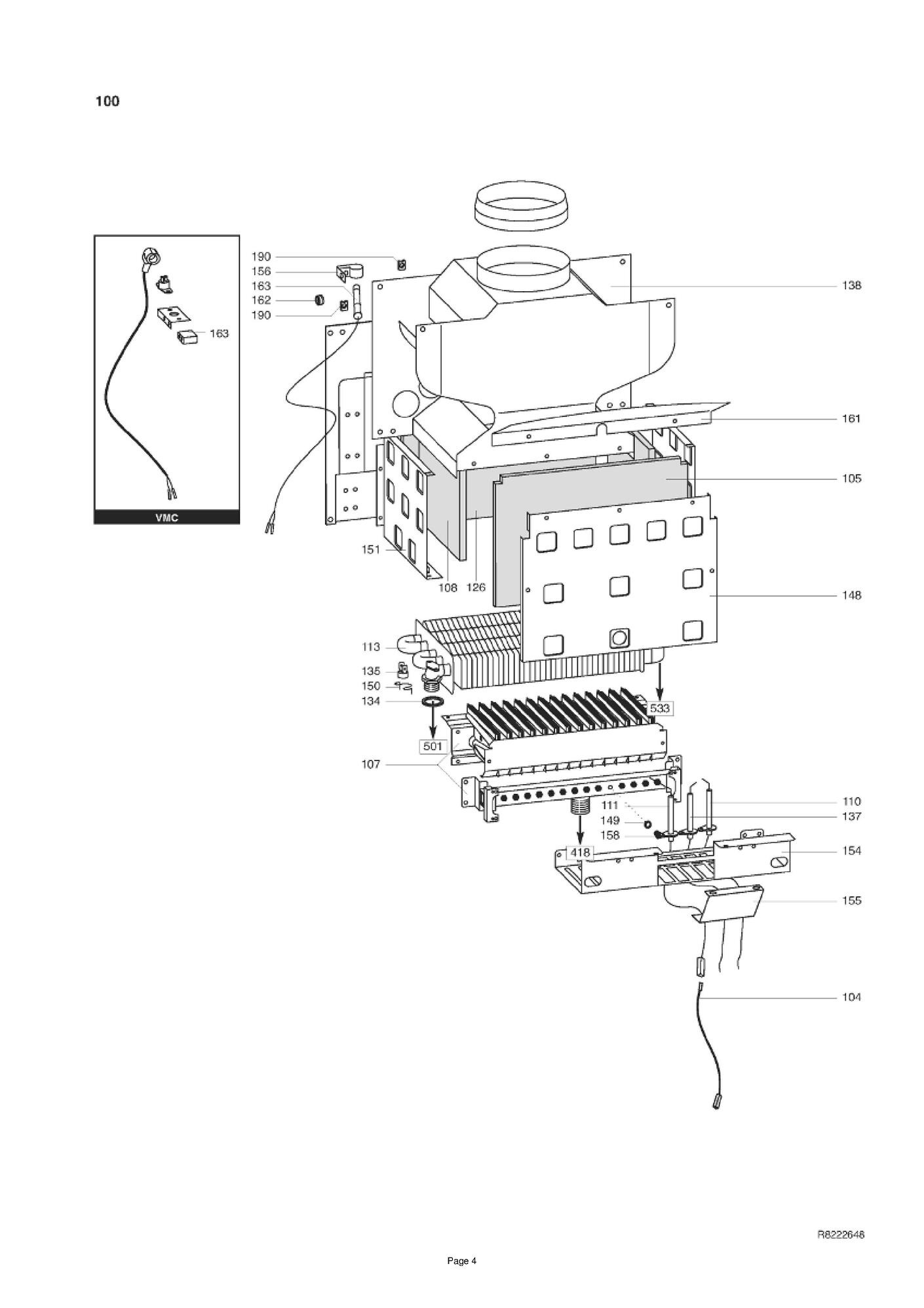
999152 Echangeur corps de chauffe 113
999102 Tube vase d expansion 324
999673 Groupe retour depuis 01/10/2002 501
995405 Groupe retour chauffage avant 30/09/2002 501
997147 Tete motorisee vanne 3 voies 502
998064 Ressort tube by-pass 506
998424 Joint c4-d17,04 (10p) 508
572170 Membrane debis. sanit. blanche 509
571547 Membrane pressostat noire 509
65120951 Pompe para ms/7-50/sc-6 510
997077 Clips fixation moteur 513
998490 Kit bypass circuit primaire 515
65105060 Groupe vanne pressostatique 3voies 516
998458-01 Sonde temperature 520
999601 Joint antivibration 523
998517 Joint 5030 epdm 527
571548 Attache rapide 528
65100695 Manometre circulaire 529
999100 Rondelle pour vis circulateur 530
998643 Purgeur de circulateur 531
999209 Tube de retour antivibrations 533
998589 Tube by-pass 535
998644 Joint o-ring pour circulateur 536
573172 Groupe de securite 1/2 3 bars 537
65120953 Pompe para nfhul/7-50/sc-9 538
571775 Capot sup debistat sanitaire 539
998738 Joint moteur circulateur 545
997153 Attache rapide 547
999162 Clip circul./groupe hydraul. 558
998567 Manchon 560
573176 Tube 561
571776 Ressort de debistat sanitaire 562
571771 Ressort du debistat primaire 562
571777 Capot inferieur debistat sanitaire 563
999075 Detecteur de flux fugas depuis 01/10/2002 564
998974 Intercalaire fraise 566
998975 Clapet sanitaire (kit) 567
65105065 Clapet chauffage (kit) 568
571807 Joint torique d: 20-18mm avant 30/09/2002 569
571772 Piston de debistat 570
65100519 Pressostat circulateur 571
997182 Joint orm 90-25 572
998077 Joint 3037 (20p) 574
571664 Joint o-ring avant 30/09/2002 580
998586 Tube signal positif avant 30/09/2002 581
998587 Tube signal- du flussostat avant 30/09/2002 582
999598 Bouchon circulateur 583
998172 Interrupteur magneti. debistat 584
995364 Joint antivibration circulat. 585
571646 Echangeur sanitaire 12 plaques (long) 589
573825 Joint echangeur plaques 590
571444 Kit regulateur sanitaire avant 30/09/2002 592
998941 Limiteur de debit et filtre depuis 01/10/2002 592
573520 Joint eau-gaz 3/4 594
571565 Ressort fixation pressostat avant 30/09/2002 599


Les images des vues éclatées peuvent contenir des prix datant de plusieurs années, merci de ne pas en tenir compte










Pièces détachées contenues dans cet appareil Chaudière Ariston MICROGENUS 23 MFFI BP (F) (1999-2001) Ref 535207



Photo Position vue éclatée Article Référence fabricant Disponibilité et prix  
Fil raccord electrode ionis. Ariston 998862
Fil raccord electrode ionis.
Code article PEX: 223819
Ariston
Réf fabricant: 998862
± 3 jours ouvrés
11,77 € TTC
Isolant ceramique frontal Ariston 995952
Isolant ceramique frontal
Code article PEX: 223120
Ariston
Réf fabricant: 995952
± 3 jours ouvrés
20,08 € TTC
Plaque fibre ceramique av Ariston 995996
Plaque fibre ceramique av
Code article PEX: 223134
Ariston
Réf fabricant: 995996
± 3 jours ouvrés
21,64 € TTC
Bruleur Ariston 999404
Bruleur
Code article PEX: 223937
Ariston
Réf fabricant: 999404
 
obsolète
 
Plaque fibre ceramique lateral Ariston 998639
Plaque fibre ceramique lateral
Code article PEX: 223756
Ariston
Réf fabricant: 998639
± 3 jours ouvrés
12,35 € TTC
Electrode allumage gauche Ariston 65100250
Electrode allumage gauche
Code article PEX: 216738
Ariston
Réf fabricant: 65100250
± 3 jours ouvrés
10,86 € TTC
Electrode ionisation Ariston 998624
Electrode ionisation
Code article PEX: 223744
Ariston
Réf fabricant: 998624
± 3 jours ouvrés
10,81 € TTC
Echangeur corps de chauffe Ariston 999152
Echangeur corps de chauffe
Code article PEX: 223884
Ariston
Réf fabricant: 999152
± 3 jours ouvrés
409,48 € TTC
Isolant ceramique arriere Ariston 996161
Isolant ceramique arriere
Code article PEX: 223177
Ariston
Réf fabricant: 996161
± 3 jours ouvrés
23,17 € TTC
Plaque fibre ceramique ar Ariston 999554
Plaque fibre ceramique ar
Code article PEX: 223986
Ariston
Réf fabricant: 999554
± 3 jours ouvrés
17,58 € TTC
Joint eau-gaz 3/4 Ariston 573520
Joint eau-gaz 3/4
Code article PEX: 207577
Ariston
Réf fabricant: 573520
± 3 jours ouvrés
2,39 € TTC
Thermostat de securite 103°c Ariston 996065
Thermostat de securite 103°c
Code article PEX: 223145
Ariston
Réf fabricant: 996065
en stock
16,33 € TTC
Electrode allumage droite Ariston 65100251
Electrode allumage droite
Code article PEX: 216739
Ariston
Réf fabricant: 65100251
± 3 jours ouvrés
10,86 € TTC
138 page 4 Antirefouleur
 
Ariston
Réf fabricant: 990709
avec délai
sur devis
Antirefouleur Ariston 995927
138 page 4 Antirefouleur
Code article PEX: 223108
Ariston
Réf fabricant: 995927
 
obsolète
 
138 page 2 Antirefouleur
 
Ariston
Réf fabricant: 990709
avec délai
sur devis
Antirefouleur Ariston 995927
138 page 2 Antirefouleur
Code article PEX: 223108
Ariston
Réf fabricant: 995927
 
obsolète
 
Panneau frontal chambre comb. Ariston 995921
Panneau frontal chambre comb.
Code article PEX: 223104
Ariston
Réf fabricant: 995921
± 3 jours ouvrés
51,10 € TTC
Rondelle d injecteur Ariston 572138
Rondelle d injecteur
Code article PEX: 207268
Ariston
Réf fabricant: 572138
 
obsolète
 
Ressort fix thermostat limite Ariston 998583
Ressort fix thermostat limite
Code article PEX: 223717
Ariston
Réf fabricant: 998583
± 3 jours ouvrés
2,75 € TTC
Panneau cote gauche chambre comb Ariston 995922
Panneau cote gauche chambre comb
Code article PEX: 223105
Ariston
Réf fabricant: 995922
± 3 jours ouvrés
9,85 € TTC
Diffuseur d air Ariston 999411
154 page 4 Diffuseur d air
Code article PEX: 223940
Ariston
Réf fabricant: 999411
 
obsolète
 
Protection capot de facade Ariston 999435
155 page 4 Protection capot de facade
Code article PEX: 223948
Ariston
Réf fabricant: 999435
± 3 jours ouvrés
5,53 € TTC
Ressort de fixation spott Ariston 573349
156 page 4 Ressort de fixation spott
Code article PEX: 207533
Ariston
Réf fabricant: 573349
± 3 jours ouvrés
8,66 € TTC
Injecteur bruleur 0,72 bp Ariston 570251
Injecteur bruleur 0,72 bp
Code article PEX: 206954
Ariston
Réf fabricant: 570251
± 3 jours ouvrés
7,68 € TTC
Cablage spott Ariston 995347
163 page 4 Cablage spott
Code article PEX: 222862
Ariston
Réf fabricant: 995347
 
obsolète
 
Cablage spott Ariston 995309
163 page 4 Cablage spott
Code article PEX: 222846
Ariston
Réf fabricant: 995309
± 3 jours ouvrés
34,27 € TTC
Ecrous (5pc) Ariston 570717
310 page 6 Ecrous (5pc)
Code article PEX: 207042
Ariston
Réf fabricant: 570717
± 3 jours ouvrés
7,24 € TTC
Passe cable Ariston 998580
315 page 6 Passe cable
Code article PEX: 223714
Ariston
Réf fabricant: 998580
± 3 jours ouvrés
2,83 € TTC
Tube vase d expansion Ariston 999102
Tube vase d expansion
Code article PEX: 223870
Ariston
Réf fabricant: 999102
± 3 jours ouvrés
13,16 € TTC
Joint eau-gaz 3/8 Ariston 573521
325 page 6 Joint eau-gaz 3/8
Code article PEX: 207578
Ariston
Réf fabricant: 573521
± 3 jours ouvrés
2,39 € TTC
Vase d expansion 6l Ariston 998616
327 page 6 Vase d expansion 6l
Code article PEX: 223737
Ariston
Réf fabricant: 998616
 
obsolète
 
Intercal.pr vase d expansion Ariston 998776
338 page 6 Intercal.pr vase d expansion
Code article PEX: 223799
Ariston
Réf fabricant: 998776
± 3 jours ouvrés
9,82 € TTC
Contre ecrou 3/8" Ariston 998581
339 page 6 Contre ecrou 3/8"
Code article PEX: 223715
Ariston
Réf fabricant: 998581
± 3 jours ouvrés
7,06 € TTC
Panneau cote gauche Ariston 65102558
342 page 6 Panneau cote gauche
Code article PEX: 217762
Ariston
Réf fabricant: 65102558
 
obsolète
 
Panneau de facade avant Ariston 995343
344 page 6 Panneau de facade avant
Code article PEX: 222860
Ariston
Réf fabricant: 995343
± 3 jours ouvrés
73,31 € TTC
Panneau cote droit Ariston 65102557
345 page 6 Panneau cote droit
Code article PEX: 217761
Ariston
Réf fabricant: 65102557
± 3 jours ouvrés
36,25 € TTC
Traverse panneau anterieur Ariston 991944
346 page 6 Traverse panneau anterieur
Code article PEX: 222616
Ariston
Réf fabricant: 991944
± 3 jours ouvrés
7,76 € TTC
Axe de charniere porte-instruments Ariston 995492
362 page 6 Axe de charniere porte-instruments
Code article PEX: 222907
Ariston
Réf fabricant: 995492
± 3 jours ouvrés
9,08 € TTC
Vanne gaz sit845 sigma Ariston 997089
401 page 6 Vanne gaz sit845 sigma
Code article PEX: 223378
Ariston
Réf fabricant: 997089
± 3 jours ouvrés
176,80 € TTC
Opercule valve gaz Ariston 999167
402 page 6 Opercule valve gaz
Code article PEX: 223892
Ariston
Réf fabricant: 999167
 
obsolète
 
Joint de forme Ariston 574279
405 page 6 Joint de forme
Code article PEX: 207758
Ariston
Réf fabricant: 574279
 
obsolète
 
Joint eau-gaz 3/4 Ariston 573520
406 page 6 Joint eau-gaz 3/4
Code article PEX: 207577
Ariston
Réf fabricant: 573520
± 3 jours ouvrés
2,39 € TTC
Tube entree gaz Ariston 999622
Tube entree gaz
Code article PEX: 224008
Ariston
Réf fabricant: 999622
± 3 jours ouvrés
32,47 € TTC
Transformateur d allumage Ariston 65100514
444 page 6 Transformateur d allumage
Code article PEX: 216865
Ariston
Réf fabricant: 65100514
± 3 jours ouvrés
44,68 € TTC
Groupe retour Ariston 999673
Groupe retour
Code article PEX: 224012
Ariston
Réf fabricant: 999673
en stock
332,34 € TTC
Groupe retour chauffage Ariston 995405
Groupe retour chauffage
Code article PEX: 222881
Ariston
Réf fabricant: 995405
 
obsolète
 
Tete motorisee vanne 3 voies Ariston 997147
502 page 8 Tete motorisee vanne 3 voies
Code article PEX: 223394
Ariston
Réf fabricant: 997147
± 3 jours ouvrés
44,84 € TTC
Ressort tube by-pass Ariston 998064
506 page 8 Ressort tube by-pass
Code article PEX: 223547
Ariston
Réf fabricant: 998064
± 3 jours ouvrés
5,50 € TTC
Joint c4-d17,04 (10p) Ariston 998424
508 page 8 Joint c4-d17,04 (10p)
Code article PEX: 223663
Ariston
Réf fabricant: 998424
± 3 jours ouvrés
2,39 € TTC
Membrane debis. sanit. blanche Ariston 572170
509 page 8 Membrane debis. sanit. blanche
Code article PEX: 207270
Ariston
Réf fabricant: 572170
 
obsolète
 
Membrane pressostat noire Ariston 571547
509 page 8 Membrane pressostat noire
Code article PEX: 207169
Ariston
Réf fabricant: 571547
± 3 jours ouvrés
9,65 € TTC
Pompe para ms/7-50/sc-6 Ariston 65120951
510 page 8 Pompe para ms/7-50/sc-6
Code article PEX: 630471
Ariston
Réf fabricant: 65120951
en stock
355,50 € TTC
Clips fixation moteur Ariston 997077
513 page 8 Clips fixation moteur
Code article PEX: 223376
Ariston
Réf fabricant: 997077
± 3 jours ouvrés
2,64 € TTC
Kit bypass circuit primaire Ariston 998490
515 page 8 Kit bypass circuit primaire
Code article PEX: 223688
Ariston
Réf fabricant: 998490
± 3 jours ouvrés
32,95 € TTC
Groupe vanne pressostatique 3voies Ariston 65105060
Groupe vanne pressostatique 3voies
Code article PEX: 219037
Ariston
Réf fabricant: 65105060
± 3 jours ouvrés
277,72 € TTC
Sonde temperature Ariston 998458-01
520 page 8 Sonde temperature
Code article PEX: 424413
Ariston
Réf fabricant: 998458-01
en stock
9,65 € TTC
Joint antivibration Ariston 999601
523 page 8 Joint antivibration
Code article PEX: 224003
Ariston
Réf fabricant: 999601
± 3 jours ouvrés
2,16 € TTC
Joint 5030 epdm Ariston 998517
527 page 8 Joint 5030 epdm
Code article PEX: 223694
Ariston
Réf fabricant: 998517
± 3 jours ouvrés
2,39 € TTC
Attache rapide Ariston 571548
528 page 8 Attache rapide
Code article PEX: 207170
Ariston
Réf fabricant: 571548
± 3 jours ouvrés
6,79 € TTC
Manometre circulaire Ariston 65100695
529 page 8 Manometre circulaire
Code article PEX: 216913
Ariston
Réf fabricant: 65100695
± 3 jours ouvrés
23,29 € TTC
Rondelle pour vis circulateur Ariston 999100
530 page 8 Rondelle pour vis circulateur
Code article PEX: 223869
Ariston
Réf fabricant: 999100
± 3 jours ouvrés
2,39 € TTC
Purgeur de circulateur Ariston 998643
531 page 8 Purgeur de circulateur
Code article PEX: 223759
Ariston
Réf fabricant: 998643
± 3 jours ouvrés
25,54 € TTC
Tube de retour antivibrations Ariston 999209
Tube de retour antivibrations
Code article PEX: 223905
Ariston
Réf fabricant: 999209
 
obsolète
 
Tube by-pass Ariston 998589
535 page 8 Tube by-pass
Code article PEX: 223721
Ariston
Réf fabricant: 998589
± 3 jours ouvrés
13,91 € TTC
Joint o-ring pour circulateur Ariston 998644
536 page 8 Joint o-ring pour circulateur
Code article PEX: 223760
Ariston
Réf fabricant: 998644
± 3 jours ouvrés
7,85 € TTC
Groupe de securite 1/2 3 bars Ariston 573172
537 page 8 Groupe de securite 1/2 3 bars
Code article PEX: 207456
Ariston
Réf fabricant: 573172
± 3 jours ouvrés
27,07 € TTC
Pompe para nfhul/7-50/sc-9 Ariston 65120953
538 page 8 Pompe para nfhul/7-50/sc-9
Code article PEX: 630472
Ariston
Réf fabricant: 65120953
± 3 jours ouvrés
380,29 € TTC
Capot sup debistat sanitaire Ariston 571775
539 page 8 Capot sup debistat sanitaire
Code article PEX: 207231
Ariston
Réf fabricant: 571775
± 3 jours ouvrés
7,20 € TTC
Joint moteur circulateur Ariston 998738
545 page 8 Joint moteur circulateur
Code article PEX: 223791
Ariston
Réf fabricant: 998738
± 3 jours ouvrés
6,78 € TTC
Attache rapide Ariston 997153
547 page 8 Attache rapide
Code article PEX: 223398
Ariston
Réf fabricant: 997153
± 3 jours ouvrés
2,53 € TTC
Clip circul./groupe hydraul. Ariston 999162
558 page 8 Clip circul./groupe hydraul.
Code article PEX: 223887
Ariston
Réf fabricant: 999162
± 3 jours ouvrés
6,60 € TTC
Manchon Ariston 998567
560 page 8 Manchon
Code article PEX: 223701
Ariston
Réf fabricant: 998567
± 3 jours ouvrés
2,28 € TTC
Tube Ariston 573176
561 page 8 Tube
Code article PEX: 207459
Ariston
Réf fabricant: 573176
± 3 jours ouvrés
8,03 € TTC
Ressort de debistat sanitaire Ariston 571776
562 page 8 Ressort de debistat sanitaire
Code article PEX: 207232
Ariston
Réf fabricant: 571776
± 3 jours ouvrés
8,00 € TTC
Ressort du debistat primaire Ariston 571771
562 page 8 Ressort du debistat primaire
Code article PEX: 207227
Ariston
Réf fabricant: 571771
± 3 jours ouvrés
3,41 € TTC
Capot inferieur debistat sanitaire Ariston 571777
563 page 8 Capot inferieur debistat sanitaire
Code article PEX: 207233
Ariston
Réf fabricant: 571777
± 3 jours ouvrés
8,75 € TTC
Detecteur de flux fugas Ariston 999075
564 page 8 Detecteur de flux fugas
Code article PEX: 223860
Ariston
Réf fabricant: 999075
± 3 jours ouvrés
49,92 € TTC
Intercalaire fraise Ariston 998974
566 page 8 Intercalaire fraise
Code article PEX: 223853
Ariston
Réf fabricant: 998974
 
obsolète
 
Clapet sanitaire (kit) Ariston 998975
567 page 8 Clapet sanitaire (kit)
Code article PEX: 223854
Ariston
Réf fabricant: 998975
 
obsolète
 
Clapet chauffage (kit) Ariston 65105065
568 page 8 Clapet chauffage (kit)
Code article PEX: 219041
Ariston
Réf fabricant: 65105065
± 3 jours ouvrés
102,62 € TTC
Joint torique d: 20-18mm Ariston 571807
569 page 8 Joint torique d: 20-18mm
Code article PEX: 207237
Ariston
Réf fabricant: 571807
± 3 jours ouvrés
2,39 € TTC
Piston de debistat Ariston 571772
570 page 8 Piston de debistat
Code article PEX: 207228
Ariston
Réf fabricant: 571772
± 3 jours ouvrés
12,04 € TTC
Pressostat circulateur Ariston 65100519
571 page 8 Pressostat circulateur
Code article PEX: 216868
Ariston
Réf fabricant: 65100519
± 3 jours ouvrés
69,72 € TTC
Joint orm 90-25 Ariston 997182
572 page 8 Joint orm 90-25
Code article PEX: 223401
Ariston
Réf fabricant: 997182
± 3 jours ouvrés
2,99 € TTC
Joint 3037 (20p) Ariston 998077
574 page 8 Joint 3037 (20p)
Code article PEX: 223555
Ariston
Réf fabricant: 998077
± 3 jours ouvrés
2,63 € TTC
Joint o-ring Ariston 571664
580 page 8 Joint o-ring
Code article PEX: 207207
Ariston
Réf fabricant: 571664
± 3 jours ouvrés
2,39 € TTC
Tube signal positif Ariston 998586
581 page 8 Tube signal positif
Code article PEX: 223719
Ariston
Réf fabricant: 998586
 
obsolète
 
Tube signal- du flussostat Ariston 998587
582 page 8 Tube signal- du flussostat
Code article PEX: 223720
Ariston
Réf fabricant: 998587
 
obsolète
 
Bouchon circulateur Ariston 999598
583 page 8 Bouchon circulateur
Code article PEX: 224001
Ariston
Réf fabricant: 999598
± 3 jours ouvrés
8,32 € TTC
Interrupteur magneti. debistat Ariston 998172
584 page 8 Interrupteur magneti. debistat
Code article PEX: 223588
Ariston
Réf fabricant: 998172
± 3 jours ouvrés
28,46 € TTC
Joint antivibration circulat. Ariston 995364
585 page 8 Joint antivibration circulat.
Code article PEX: 222868
Ariston
Réf fabricant: 995364
 
obsolète
 
Echangeur sanitaire 12 plaques (long) Ariston 571646
589 page 8 Echangeur sanitaire 12 plaques (long)
Code article PEX: 207194
Ariston
Réf fabricant: 571646
± 3 jours ouvrés
90,82 € TTC
Joint echangeur plaques Ariston 573825
590 page 8 Joint echangeur plaques
Code article PEX: 207616
Ariston
Réf fabricant: 573825
en stock
4,39 € TTC
Kit regulateur sanitaire Ariston 571444
592 page 8 Kit regulateur sanitaire
Code article PEX: 207150
Ariston
Réf fabricant: 571444
± 3 jours ouvrés
55,57 € TTC
Limiteur de debit et filtre Ariston 998941
592 page 8 Limiteur de debit et filtre
Code article PEX: 223841
Ariston
Réf fabricant: 998941
± 3 jours ouvrés
61,09 € TTC
Joint eau-gaz 3/4 Ariston 573520
594 page 8 Joint eau-gaz 3/4
Code article PEX: 207577
Ariston
Réf fabricant: 573520
± 3 jours ouvrés
2,39 € TTC
Ressort fixation pressostat Ariston 571565
599 page 8 Ressort fixation pressostat
Code article PEX: 207178
Ariston
Réf fabricant: 571565
± 3 jours ouvrés
8,57 € TTC
Manometre circulaire Ariston 65100695
602 page 10 Manometre circulaire
Code article PEX: 216913
Ariston
Réf fabricant: 65100695
± 3 jours ouvrés
23,29 € TTC
Tableau de commande Ariston 999715
614 page 10 Tableau de commande
Code article PEX: 224021
Ariston
Réf fabricant: 999715
± 3 jours ouvrés
14,90 € TTC
Circuit imprime Ariston 65101732
615 page 10 Circuit imprime
Code article PEX: 217355
Ariston
Réf fabricant: 65101732
± 3 jours ouvrés
408,62 € TTC
Vitre de protection led Ariston 998570
621 page 10 Vitre de protection led
Code article PEX: 223704
Ariston
Réf fabricant: 998570
± 3 jours ouvrés
5,04 € TTC
Axe selecteur sanitaire/chauf Ariston 998575
623 page 10 Axe selecteur sanitaire/chauf
Code article PEX: 223709
Ariston
Réf fabricant: 998575
 
obsolète
 
Cablage d alimentation moteur Ariston 996336
627 page 10 Cablage d alimentation moteur
Code article PEX: 223227
Ariston
Réf fabricant: 996336
± 3 jours ouvrés
18,28 € TTC
Cablage haute tension Ariston 998864
628 page 10 Cablage haute tension
Code article PEX: 223821
Ariston
Réf fabricant: 998864
± 3 jours ouvrés
43,86 € TTC
Cablage circuit-circulateur Ariston 999968
631 page 10 Cablage circuit-circulateur
Code article PEX: 224043
Ariston
Réf fabricant: 999968
 
obsolète
 
Axe du selecteur on/off Ariston 998572
632 page 10 Axe du selecteur on/off
Code article PEX: 223706
Ariston
Réf fabricant: 998572
± 3 jours ouvrés
9,95 € TTC
Capot de facade Ariston 65100557
637 page 10 Capot de facade
Code article PEX: 423642
Ariston
Réf fabricant: 65100557
 
obsolète
 
Cablage d alimentation Ariston 995979
638 page 10 Cablage d alimentation
Code article PEX: 223129
Ariston
Réf fabricant: 995979
± 3 jours ouvrés
14,89 € TTC
Cablage d alimentation Ariston 65101073
638 page 10 Cablage d alimentation
Code article PEX: 217115
Ariston
Réf fabricant: 65101073
± 3 jours ouvrés
12,73 € TTC
Bouton confort Ariston 999148
640 page 10 Bouton confort
Code article PEX: 223882
Ariston
Réf fabricant: 999148
± 3 jours ouvrés
10,97 € TTC
Modules eeprom cmp3 (kit) Ariston 65101368
641 page 10 Modules eeprom cmp3 (kit)
Code article PEX: 217174
Ariston
Réf fabricant: 65101368
± 3 jours ouvrés
72,16 € TTC
Bornier 2 plots Ariston 571787
646 page 10 Bornier 2 plots
Code article PEX: 207235
Ariston
Réf fabricant: 571787
± 3 jours ouvrés
2,50 € TTC
Cablage basse tension Ariston 998863
647 page 10 Cablage basse tension
Code article PEX: 223820
Ariston
Réf fabricant: 998863
± 3 jours ouvrés
17,21 € TTC
Cablage basse tension Ariston 999157
647 page 10 Cablage basse tension
Code article PEX: 223886
Ariston
Réf fabricant: 999157
 
obsolète
 
Cablage sonde sanit/chauf Ariston 65101322
647 page 10 Cablage sonde sanit/chauf
Code article PEX: 217154
Ariston
Réf fabricant: 65101322
± 3 jours ouvrés
22,94 € TTC
Cablage thermostat Ariston 999927
647 page 10 Cablage thermostat
Code article PEX: 224036
Ariston
Réf fabricant: 999927
± 3 jours ouvrés
19,87 € TTC
Bouton de reglage Ariston 998603
650 page 10 Bouton de reglage
Code article PEX: 223727
Ariston
Réf fabricant: 998603
 
obsolète
 
Rondelle nylon Ariston 569711
651 page 10 Rondelle nylon
Code article PEX: 206905
Ariston
Réf fabricant: 569711
± 3 jours ouvrés
4,76 € TTC
Porte instruments Ariston 999604
658 page 10 Porte instruments
Code article PEX: 224006
Ariston
Réf fabricant: 999604
± 3 jours ouvrés
17,94 € TTC
Cache Ariston 997745
671 page 10 Cache
Code article PEX: 223469
Ariston
Réf fabricant: 997745
± 3 jours ouvrés
9,95 € TTC
Couvercle de protection Ariston 998953
672 page 10 Couvercle de protection
Code article PEX: 223845
Ariston
Réf fabricant: 998953
± 3 jours ouvrés
6,82 € TTC
Axe du bouton poussoir reset Ariston 998571
673 page 10 Axe du bouton poussoir reset
Code article PEX: 223705
Ariston
Réf fabricant: 998571
± 3 jours ouvrés
9,67 € TTC
Bouton reset Ariston 998604
674 page 10 Bouton reset
Code article PEX: 223728
Ariston
Réf fabricant: 998604
± 3 jours ouvrés
2,39 € TTC
Axe du bouton poussoir comfort Ariston 998579
675 page 10 Axe du bouton poussoir comfort
Code article PEX: 223713
Ariston
Réf fabricant: 998579
 
obsolète
 
Passe cable obture Ariston 569720
679 page 10 Passe cable obture
Code article PEX: 206908
Ariston
Réf fabricant: 569720
± 3 jours ouvrés
3,61 € TTC
Eqt transf gn Ariston 998900
5002 page 10 Eqt transf gn
Code article PEX: 223832
Ariston
Réf fabricant: 998900
± 3 jours ouvrés
70,44 € TTC
Eqt transf gn (15 +1) Ariston 999173
5002 page 10 Eqt transf gn (15 +1)
Code article PEX: 223895
Ariston
Réf fabricant: 999173
 
obsolète
 


Dans cette page vous trouverez l'ensemble des articles et pièces détachées de chaufferie qui composent la nomenclature Chaudière Ariston MICROGENUS 23 MFFI BP (F) (1999-2001) Ref 535207 ainsi que des liens vers les articles Ariston. En parcourant la page Ariston, vous pourrez également trouver toutes les pièces Ariston présentes chez Pièces Express. L'indication de stock vous permet de savoir si la pièce détachée est disponible dans notre stock central ou bien avec un délai fournisseur. Dans ce dernier cas, renseignez vous, nous commandons très régulièrement chez chacun de nos fournisseurs, nous pouvons donc certainement répondre à votre besoin rapidement.

Nos marques
Nos catalogues
Nos outils
Nos gicleurs fioul
Nos bougies pour poêles à pellets
Pièces détachées de chauffage et climatisation
PIÈCES EXPRESS
1 rue Philippe LEBON
ZA Henri Spriet
14120 MONDEVILLE
Téléphone: 02 14 47 16 10
Siret: 790 553 242 00013
Tva: FR 38 790553242